Запчасти Case 570N EP (90.156.AB[02]) - VAR - 747852, 747853 - REAR WINDOW, 2 PIECE (90) - PLATFORM, CAB, BODYWORK AND DECALS

Схема запчастей Case 570N EP - (90.156.AB[02]) - VAR - 747852, 747853 - REAR WINDOW, 2 PIECE (90) - PLATFORM, CAB, BODYWORK AND DECALS
16
11
6
18
10
10
15
13
6
2
3
4
11
4
3
19
7
14
17
7
9
9
12
15
8
1
5
16
5
12
FIT
1:1
100%

Артикул

Название

Примечание

Количество

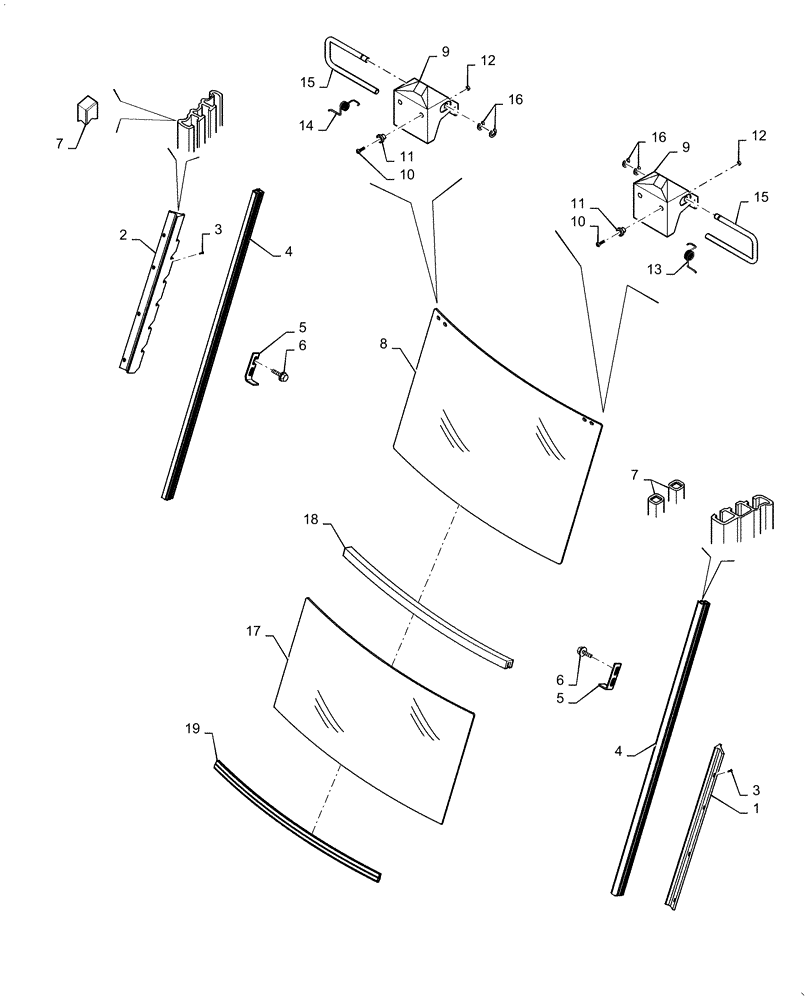
1

177252A1

SUPPORT

Right-Hand Upper Bracket

1шт.

2

177251A1

SUPPORT

Left-Hand Upper Bracket

1шт.

3

281-54512

SCREW,Hex Wshr Hd, #10 - 24 x 3/4"

8шт.

4

87702619

GUIDE

Guide; Track Channel

2шт.

5

177833A1

SUPPORT

Lower Rear Window Stop Bracket

2шт.

6

280-14512

SELF-TAP SCREW,Hex Wash Hd, #10 x 3/4"

4шт.

7

178130A1

SEAL

Foam Seal, Front Two Track Grooves; Track Channel Both Sides

4шт.

8

D129967

GLASS

Upper Glass

1шт.

9

97278C1

LATCH

Latch For Upper Rear Window Only

2шт.

10

442-11016

SCREW,Cross Oval Hd, #10-24 x 1"

4шт.

11

F64198

BUMPER,4.98mm ID x 7.92mm OD x 10.21mm L

Black Nylon

4шт.

12

230-42409

NUT,#10-24, GA

4шт.

13

1990727C1

SPRING

Right-Hand Latch Spring

1шт.

14

1990728C1

SPRING

Left-Hand Latch Spring

1шт.

15

1344232C1

LEVER

Latch Lever

2шт.

16

86624102

SNAP RING,#37, .300" Dia, E-Type

4шт.

17

175092A1

GLASS

Lower Glass

1шт.

18

436976A1

ORNAMENTAL STRIP

895 mm (35-1/4 in) Seal

1шт.

19

137315A1

SEAL,899.6mm L

Trim, Bulk

1шт.

Выбрано товаров: 19