Запчасти Case 570NXT (82.300.AN) - LOADER BUCKET 93 INCHES (82) - FRONT LOADER & BUCKET

Схема запчастей Case 570NXT - (82.300.AN) - LOADER BUCKET 93 INCHES (82) - FRONT LOADER & BUCKET
1
6
4
6
7
4
4
4
2
5
7
3
5
home
8
FIT
1:1
100%

Артикул

Название

Примечание

Количество

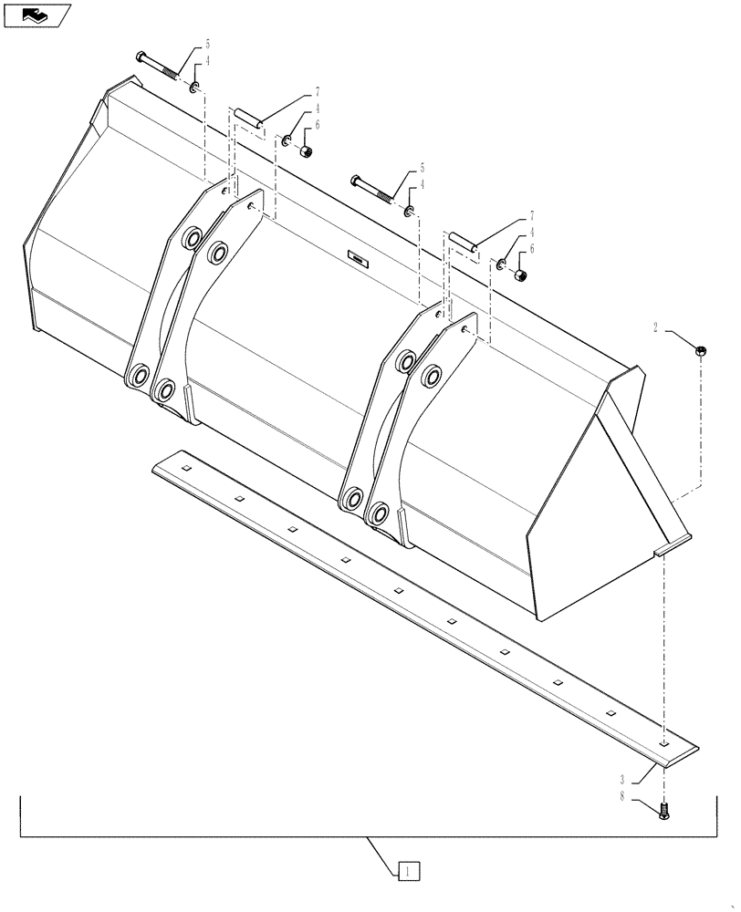
1

84470522

BUCKET,93 Inch LLGP W/ Blade

93 In CNH CE Gray Incl 2 - 8

1шт.

2

429-1012

NUT,3/4"-10, G8

10шт.

3

87375240

CUTTING EDGE,Bolt On, 10 Holes, 19mm W x 2392mm L

93 In Loader Bucket

1шт.

4

896-11020

WASHER,22mm ID x 37mm OD x 4mm Thk

4шт.

5

828-20160

BOLT,Hex, M20 x 2.5 x 160mm, Cl 10.9

2шт.

6

832-10420

NUT,M20 x 2.5, Cl 8

2шт.

7

142538A1

SPACER,21mm ID x 25mm OD x 105mm L

Chain Hook

2шт.

8

20-21232

PLOW BOLT,#3, 3/4" - 10 x 2", Gr 8

10шт.

Выбрано товаров: 8