Запчасти Case CX14 (02-14[00]) - CYLINDER BLOCK (02) - ENGINE

Схема запчастей Case CX14 - (02-14[00]) - CYLINDER BLOCK (02) - ENGINE
7
7
6
17
24
2
13
25
14
17
26
15
23
20
12
6
15
6
5
14
26
17
14
13
26
26
20
6
17
11
5
7
16
7
FIT
1:1
100%

Артикул

Название

Примечание

Количество

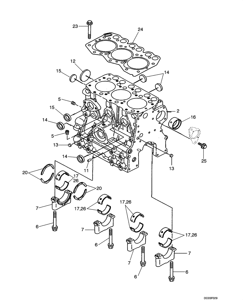
YANMAR DIESEL ENGINE

1шт.

3TNE68 - YB

1шт.

VV71926501560

BLOCK ASSY.

BLOCK ASSY., CYLINDER, Incl. 2 - 20

1шт.

2

NSS

NOT SOLD SEPARAT

Block

1шт.

5

VV12406001050

PLUG,1/8"

2шт.

6

VV11926002020

BOLT

8шт.

7

NSS

NOT SOLD SEPARAT

Carrier Bearing

4шт.

11

VV27221060100

PLUG

1шт.

12

VV11926501250

PLUG

1шт.

13

VV27241100000

PLUG

2шт.

14

VV27241250000

PLUG

4шт.

15

VV27241300000

PLUG

2шт.

16

VV11926602410

BUSHING

1шт.

17

VV11926002800

BEARING

4шт.

20

VV11926002930

BEARING

2шт.

23

VV11926601200

STUD

14шт.

24

VV11926501341

GASKET

1шт.

25

VV26106060122

BOLT,M6 x 12mm

M6 x 12 mm

2шт.

26

VV71926002870

BEARING

Under Size = 0,25

4шт.

Выбрано товаров: 19