Запчасти Case CX14 (03-06[00]) - GOVERNOR, FUEL INJECTION PUMP (03) - FUEL SYSTEM

Схема запчастей Case CX14 - (03-06[00]) - GOVERNOR, FUEL INJECTION PUMP (03) - FUEL SYSTEM
19
30
103
13
44
5
59
14
53
47
65
29
32
9
18
106
58
48
2
32
64
50
10
60
11
57
104
19
46
58
27
107
112
33
15
6
56
113
52
105
101
108
110
54
1
22
49
51
71
63
91
12
22
29
3
102
69
43
62
7
109
70
67
77
112
31
111
FIT
1:1
100%

Артикул

Название

Примечание

Количество

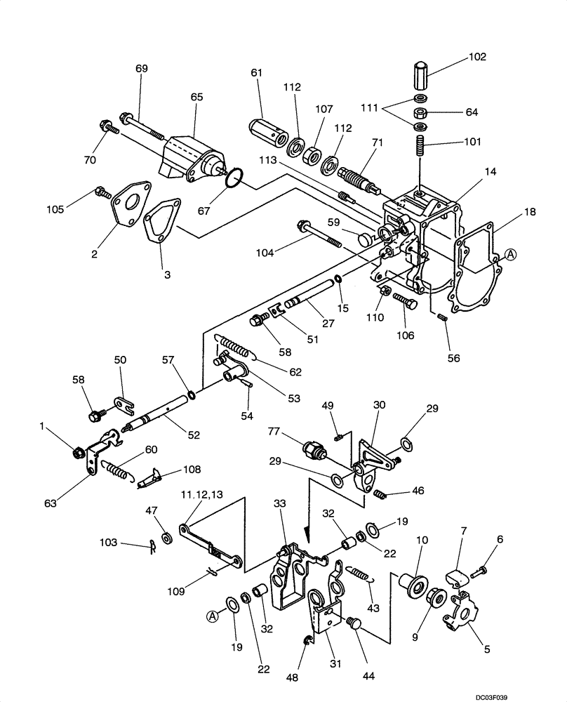
1

VV19499022050

NUT

1шт.

2

VV11966061060

COVER

1шт.

3

VV11966061071

GASKET

1шт.

VV11960061100

SET

Incl. 5 - 7, 9, 10

1шт.

VV11960061200

WEIGHT

Incl. 5 - 7

1шт.

5

NSS

NOT SOLD SEPARAT

Bracket

1шт.

6

NSS

NOT SOLD SEPARAT

Pin

1шт.

7

NSS

NOT SOLD SEPARAT

Lock

1шт.

9

VV11966061300

NUT

1шт.

10

VV11966061341

SLEEVE

1шт.

11

VV11966061121

LINK

L=88.8 (NO COLOR)

1шт.

12

VV11966061140

LINK

L=88.6 (WHITE)

1шт.

13

VV11966061150

LINK

L=88.0 (RED)

1шт.

14

VV11963261200

CASE ASSY.

Incl. 15 - 58

1шт.

15

VV12915551280

O-RING

1шт.

18

VV11966061052

GASKET

1шт.

19

VV11966061460

SHIM

1шт.

22

VV12915561480

SPACER

2шт.

27

VV11966061590

SHAFT

1шт.

VV11923261510

LEVER ASSY.

Incl. 29 - 49

1шт.

29

VV17430751700

SHIM

2шт.

30

NSS

NOT SOLD SEPARAT

Bracket

1шт.

31

NSS

NOT SOLD SEPARAT

Bracket

1шт.

32

NSS

NOT SOLD SEPARAT

Sleeve

2шт.

33

NSS

NOT SOLD SEPARAT

Bracket

1шт.

43

VV11923261540

SPRING

1шт.

44

VV11960061541

SHIFTING UNIT

1шт.

46

VV11966061651

SPRING

1шт.

47

VV22117040000

WASHER

1шт.

48

VV22272000040

CIRCLIP

1шт.

49

VV22351030014

PIN

3 x 14

1шт.

50

VV11960061900

SHAFT

1шт.

51

VV11966061901

RETAINER

1шт.

52

VV11928566080

SHAFT ASSY.

Incl. 53, 54

1шт.

53

NSS

NOT SOLD SEPARAT

Bracket

1шт.

54

NSS

NOT SOLD SEPARAT

Pin

1шт.

56

VV22351040010

PIN

4 x 10

2шт.

57

VV24341000070

O-RING

1шт.

58

VV26106060102

BOLT,M6 x 10mm

M6 x 10 mm

2шт.

59

VV11964061400

PLUG

1шт.

60

VV11984061870

SPRING

1шт.

61

VV12910061930

CAP

1шт.

62

VV11962166021

SPRING

1шт.

63

VV11962166051

LEVER

1шт.

64

VV12455066370

LOCK NUT

1шт.

65

VV11923366511

SOLENOID

1шт.

67

VV24341000280

O-RING

1шт.

69

VV26106060952

BOLT,M6 x 95mm

M6 x 95 mm

1шт.

70

VV12146559950

BOLT

M6 x 16 mm

1шт.

71

VV11960066530

SPRING

1шт.

77

VV11961066700

FITTING

1шт.

101

VV12157566830

ADJUSTMENT SCREW

1шт.

102

VV11960066840

NUT

1шт.

103

VV22360040000

PIN

1шт.

104

VV26106060702

BOLT,M6 x 70mm

M6 x 70 mm

5шт.

105

VV26116050102

BOLT,M5 x 10mm

M5 x 10 mm

3шт.

106

VV26116060304

BOLT

M6 x 30 mm

1шт.

107

VV26776120002

LOCK NUT,M12

1шт.

108

VV11965666910

HOOK

1шт.

109

VV22360060000

PIN

1шт.

110

VV26756060002

LOCK NUT,M6

1шт.

111

VV22190060003

SEAL

2шт.

112

VV22190120002

SEAL

2шт.

113

VV12425003640

SCREW

1шт.

Выбрано товаров: 64