Запчасти Case CX14 (04-03[00]) - HARNESS, MAIN - CHASSIS, UPPERSTRUCTURE (04) - ELECTRICAL SYSTEMS

Схема запчастей Case CX14 - (04-03[00]) - HARNESS, MAIN - CHASSIS, UPPERSTRUCTURE (04) - ELECTRICAL SYSTEMS
13
12
27
13
31
14
35
22
25
21
32
11
7
26
10
25
2
6
12
12
20
36
23
25
1
12
12
18
16
4
8
9
9
18
17
12
3
FIT
1:1
100%

Артикул

Название

Примечание

Количество

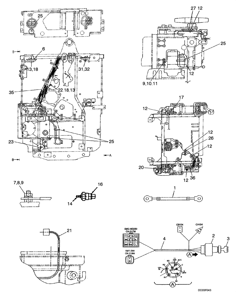
1

PE13E01013D1

CABLE ASSY.

1шт.

PE50E00001F1

SWITCH ASSY

Incl. 2- 5

1шт.

2

PH50S00002P1

IGNITION SWITCH

1шт.

3

YN50S00002S001

KEY

1шт.

4

PE13E01018P1

HARNESS

1шт.

5

PA13E01028P1

HARNESS

1шт.

6

PH53S00001P1

HORN

1шт.

7

ZW16X10000

WASHER

2шт.

8

ZN18C10008

NUT

1шт.

9

ZW26X10000

LOCK WASHER

2шт.

10

ZS18C10016

SCREW,Hex, M10 x 16mm

2шт.

11

2432R233D3

CLIP

1шт.

12

PY01P01043D3

CABLE TIE,188mm L

8шт.

13

ZW16X08000

WASHER,8mm ID x 17mm OD x 1.6mm Thk

2шт.

14

PA24S00003P1

SENSOR,50-120 Degree C

(Used for Engine Temp Gauge)

1шт.

16

PA13E01027P1

PACKING

1шт.

17

PU06C01020D6

TUBE

1шт.

18

ZW26X08000

LOCK WASHER

2шт.

20

PU06C01020D9

TUBE

2шт.

21

PA68H01040D6

TUBE

1шт.

22

ZN18C08007

NUT

1шт.

23

PE13E01035D1

CLAMP

2шт.

25

PY01P01043D5

CABLE TIE,301mm L

FOR S/N PE01-00101 - 00570

2шт.

25

PY01P01043D5

CABLE TIE,301mm L

FOR S/N PE01-00571 - 00610

4шт.

25

PY01P01043D5

CABLE TIE,301mm L

FOR ASN PE01-00611 -

5шт.

26

PA13E01036D1

HOSE

1шт.

27

PE13E01034D1

TUBE

1шт.

31

LE02H01031P1

SPACER

1шт.

32

ZS18C08030

SCREW,Hex, M8 x 30mm

1шт.

33

PE13E01038P1

HARNESS

1шт.

35

PE13E01041P1

HARNESS

for S/N PE01-00385 - 00469

1шт.

35

PE13E01041P2

HARNESS

for S/N PE01-00470 - 00570

1шт.

35

PE13E01041P3

HARNESS

for ASN PE01-00571 -

1шт.

36

PE13E01043P1

HARNESS

for ASN PE01-00385 -

1шт.

Выбрано товаров: 34