Качественные детали и логистика
Оригинальные и аналоговые запчасти с доставкой по России, Казахстану и Беларуси
©2022 PartSell ООО "Система" ИНН 2463123282 ОГРН 1212400004838
Центральный офис: г. Красноярск, Академика Киренского, д.87, пом.4
Телефон: 8 (800) 777-65-74 Email: zakaz@partsell.ru
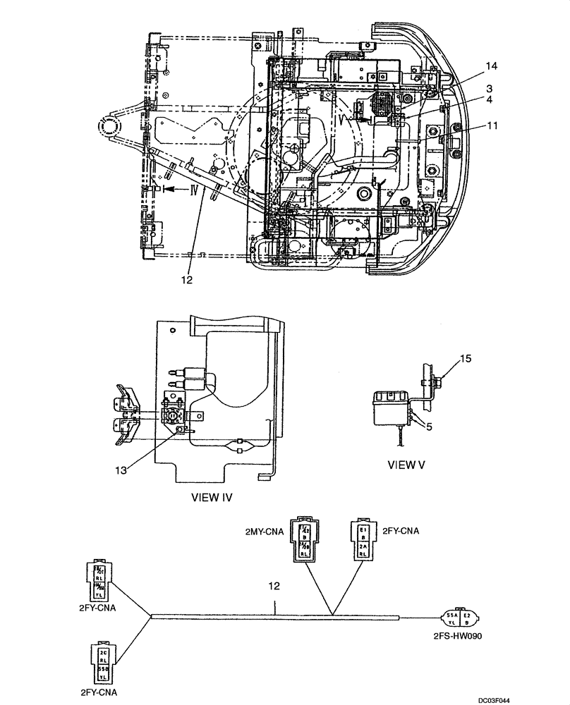
(04-04[00]) - HARNESS ASSY - TRAVEL ALARM
№
Артикул
Название
Примечание
Количество
3
PM53S00001F2
ALARM
1шт.
4
PM53S00001S001
5
ZS32T4008
SCREW, Cross Tapping
2шт.
11
PY01P01043D5
CABLE TIE,301mm L
12
PF13E01009P1
HARNESS
13
2432R233D2
CLIP
14
PF53E01001P1
PLATE
15
ZS18C08020
SCREW,Hex, M8 x 20mm
16
YN50S01001P2
SWITCH ASSY
Not Illustrated, See Figure 09-16, REF 43
Выбрано товаров: 0