Запчасти Case CX14 (08-14[00]) - PUMP ASSY (08) - HYDRAULICS

Схема запчастей Case CX14 - (08-14[00]) - PUMP ASSY (08) - HYDRAULICS
65
19
5
13
67
70
11
6
12
24
44
24
51
60
15
53
18
69
9
2
30
68
54
34
25
33
31
61
20
14
10
32
56
3
8
62
71
73
7
39
1
66
4
35
FIT
1:1
100%

Артикул

Название

Примечание

Количество

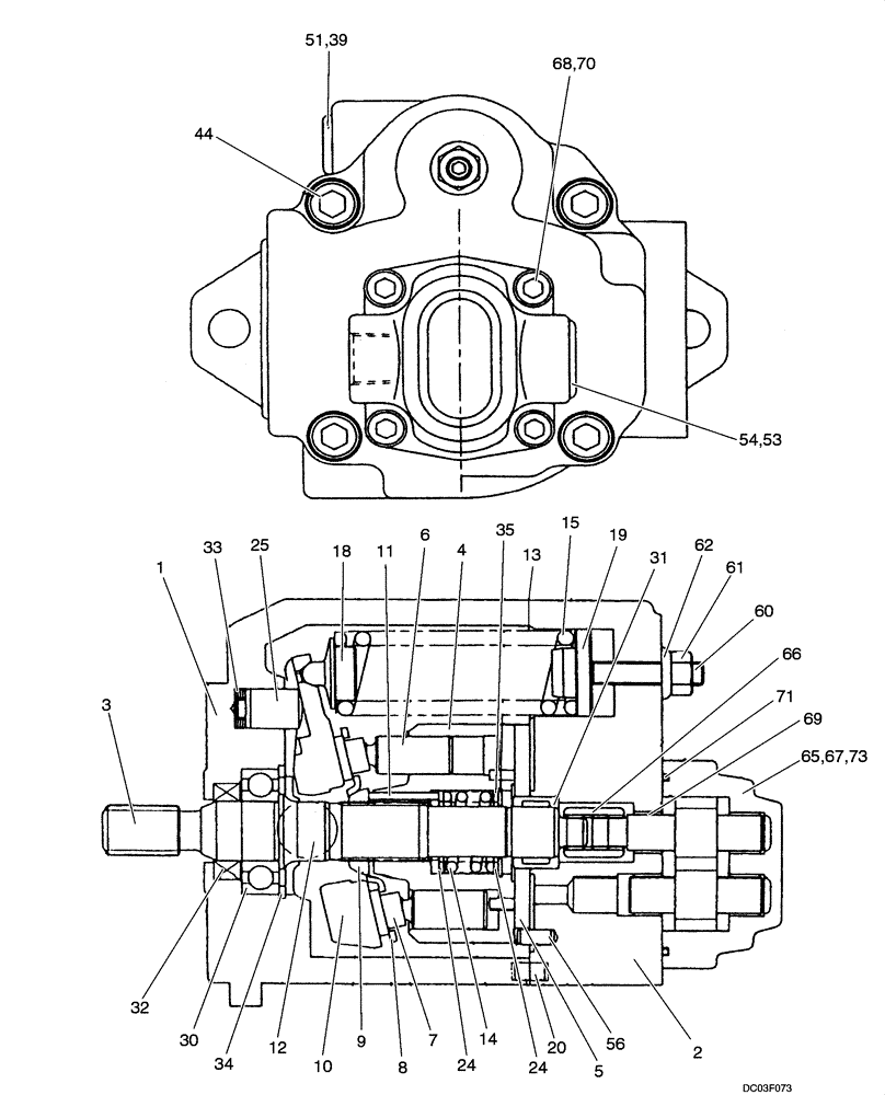
PE10V00001F1

PUMP,7.4 CC

Incl. 1 - 73

1шт.

1

NSS

NOT SOLD SEPARAT

Body (S)

1шт.

2

NSS

NOT SOLD SEPARAT

Body (H)

1шт.

3

PA10V00001S003

SHAFT

1шт.

4

PA10V00001S004

BARREL, Cylinder

1шт.

5

PA10V00001S005

PLATE

Valve

1шт.

6

PA10V00001S006

PISTON

10шт.

7

PA10V00001S007

TRACK SHOE

SHOE

10шт.

8

PA10V00001S008

HOLDER

1шт.

9

PA10V00001S009

HOLDER

Barrel

1шт.

10

PA10V00001S010

PLATE

1шт.

11

PA10V00001S011

NEEDLE

3шт.

12

PV10V00001S012

PIN

PIN

2шт.

13

PA10V00001S013

PACKING

1шт.

14

PA10V00001S014

SPRING

1шт.

15

PE10V00001S015

SPRING

1шт.

18

PA10V00001S018

HOLDER

1шт.

19

PA10V00001S019

SPRING

1шт.

20

PV10V00001S020

PIN

2шт.

24

PA10V00001S024

RETAINER

2шт.

25

PE10V00001S025

PIN

1шт.

30

R25P0009D8

BALL BEARING,20mm ID x 42mm OD x 12mm W

1шт.

31

PA10V00001S031

BEARING

1шт.

32

PA10V00001S032

GASKET

1шт.

33

PA10V00001S033

WASHER

4шт.

34

PA10V00001S034

SNAP RING

1шт.

35

ZR26X02800

RING

1шт.

39

ZD12P01100

O-RING

1шт.

44

ZS23C10050

SCREW,Hex Socket Head, M10 x 50mm

4шт.

51

PA10V00001S051

PLUG

1шт.

53

PA10V00001S053

PLUG

1шт.

54

ZD12P01800

O-RING

1шт.

56

PR15V00004S088

LINCH PIN

1шт.

60

PR10V00002S060

SCREW

1шт.

61

YR10V00004S062

NUT

1шт.

62

PR10V00002S062

WASHER

1шт.

65

PA10V00001S065

HYDRAULIC PUMP

PUMP KIT, Gear

1шт.

66

PA10V00001S066

FLEXIBLE JOINT

1шт.

67

PL10V00001S056

BALL

2шт.

68

PA10V00001S368

SOCKET, Bolt

4шт.

69

NSS

NOT SOLD SEPARAT

BUSHING

2шт.

70

PA10V00001S070

WASHER

4шт.

71

PA10V00001S071

O-RING

1шт.

73

NSS

NOT SOLD SEPARAT

Gasket

2шт.

PA10V00001R100

REPAIR KIT

(BARREL, CYLINDER KIT), Incl. 4 - 9, 11, 14, 24, 35

1шт.

PA10V00001R200

REPAIR KIT

(PISTON ASSY.), Incl. 6 (1), 7 (1)

1шт.

Order Qty of Kits Needed for Repair

1шт.

PA10V00001R300

REPAIR KIT

( SEAL, KIT), Incl. 13, 32, 39, 54, 62, 71

1шт.

PA10V00001R400

REPAIR KIT

(PUMP, GEAR KIT), Incl. 65, 67, 68, 70, 73

1шт.

Выбрано товаров: 49