Запчасти Case CX14 (08-16[00]) - MOTOR ASSY, SWING (08) - HYDRAULICS

Схема запчастей Case CX14 - (08-16[00]) - MOTOR ASSY, SWING (08) - HYDRAULICS
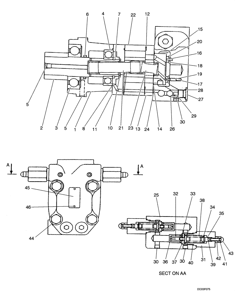
3
5
12
45
42
17
10
34
6
27
14
5
46
4
24
37
15
30
20
26
43
30
21
33
41
25
2
32
7
29
28
18
30
35
1
8
44
39
40
19
36
11
16
31
38
23
22
13
FIT
1:1
100%

Артикул

Название

Примечание

Количество

PE15V00001F1

HYDRAULIC MOTOR

Incl. 1 - 46

1шт.

1

PE15V00001S001

HOUSING

HOUSING, Bearing

1шт.

2

PE15V00001S002

GEAR

1шт.

3

PE15V00001S003

BEARING

1шт.

4

PM15V00011S011

RING

1шт.

5

PW15V00011S036

PLUG

2шт.

6

PE15V00001S005

BACK-UP RING

1шт.

7

PE15V00001S006

BACK-UP RING

1шт.

8

PL15V00001S053

O-RING

1шт.

10

2441U925S22

GASKET

1шт.

11

PE15V00001S011

PLATE

PLATE

1шт.

12

PL15V00001S053

O-RING

2шт.

13

PM15V00011S023

ROLLER

GEROLLER

1шт.

14

PL15V00002S027

O-RING

1шт.

15

PW15V00011S025

VALVE

1шт.

16

PW15V00011S026

RING

1шт.

17

2441U907S14

SPRING

SPRING

2шт.

18

PE15V00001S018

GASKET

1шт.

19

PE15V00001S019

PIN

PIN

2шт.

20

PE15V00001S020

GASKET

1шт.

21

PE15V00001S021

DRIVE

1шт.

22

PE15V00001S022

ROLLER

GEROLLER

1шт.

23

2441U907S25

SHAFT

SHAFT

1шт.

24

PL15V00001S054

O-RING

3шт.

25

NSS

NOT SOLD SEPARAT

Housing, Valve

1шт.

26

NSS

NOT SOLD SEPARAT

Ball, Steel

2шт.

27

NSS

NOT SOLD SEPARAT

Plug

2шт.

28

ZD12P01400

O-RING

2шт.

29

NSS

NOT SOLD SEPARAT

Spring

2шт.

30

PW15V00011S036

PLUG

3шт.

31

NSS

NOT SOLD SEPARAT

Cartrige

2шт.

32

NSS

NOT SOLD SEPARAT

Seat

2шт.

33

NSS

NOT SOLD SEPARAT

Valve

2шт.

34

NSS

NOT SOLD SEPARAT

Seat, Spring

2шт.

35

NSS

NOT SOLD SEPARAT

Spring Guide

2шт.

36

NSS

NOT SOLD SEPARAT

Orifice

2шт.

37

NSS

NOT SOLD SEPARAT

Packing

2шт.

38

NSS

NOT SOLD SEPARAT

Spring

2шт.

39

ZD12P00500

O-RING

2шт.

40

ZD12P02000

O-RING,2.4mm Thk x 19.8mm ID, 90 Duro

2шт.

41

NSS

NOT SOLD SEPARAT

Screw

2шт.

42

NSS

NOT SOLD SEPARAT

Nut

2шт.

43

NSS

NOT SOLD SEPARAT

Nut

2шт.

44

PN15V00002S023

BOLT

4шт.

45

NSS

NOT SOLD SEPARAT

Name Plate

1шт.

46

NSS

NOT SOLD SEPARAT

Rivet

2шт.

PE15V00001R100

SEAL KIT

Incl. 6, 8, 10, 12, 14, 18, 20, 24, 28, 39, 40

1шт.

PE15V00001R200

GEAR SET

Incl. 1 - 4, 5, 6 - 8

1шт.

PE15V00001R300

KIT

Incl. 25, 26 - 29, 30 - 43

1шт.

PE15V00001R400

KIT

Incl. 10 - 46

1шт.

Выбрано товаров: 0