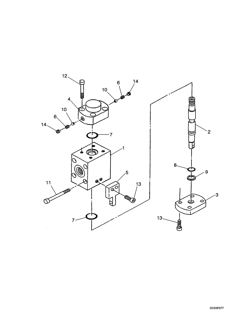
Запчасти Case CX14 (08-18[00]) - SELECTOR ASSY, SWIVEL (08) - HYDRAULICS

Схема запчастей Case CX14 - (08-18[00]) - SELECTOR ASSY, SWIVEL (08) - HYDRAULICS
3
9
6
14
7
1
2
6
11
5
12
13
4
8
7
10
10
14
13
FIT
1:1
100%

Артикул

Название

Примечание

Количество

PA55V01001F1

ASSEMBLY

SELECTOR ASSY, SWIVEL, Incl. 1- 14

1шт.

1

PA55V01001S001

BODY

1шт.

2

PA55V01001S002

SPOOL

1шт.

3

PN55V01001S003

COVER

1шт.

4

PA55V01001S004

COVER

1шт.

5

PA55V01001S005

BRACKET

1шт.

6

PN55V01001S005

SPRING

2шт.

7

ZD12P02200

O-RING

2шт.

8

ZD11P01000

O-RING

1шт.

9

PA55V01001S009

RING, SNAP

RING SNAP

1шт.

10

PA55V01001S010

BALL

2шт.

11

ZS23C05055

CAPSCREW,Hex Socket Head, M5 x 55mm

M5 x 55 mm

4шт.

12

ZS23C05030

CAPSCREW,Hex Socket Head, M5 x 30mm

M5 x 30 mm

4шт.

13

ZS23C05016

SCREW,Hex Socket Head, M5 x 16mm

M5 x 16 mm

6шт.

14

PA55V01001S014

PLUG

2шт.

Выбрано товаров: 15