Запчасти Case CX14 (08-39[00]) - VALVE ASSY - PILOT (ASN PE01-00498) (08) - HYDRAULICS

Схема запчастей Case CX14 - (08-39[00]) - VALVE ASSY - PILOT (ASN PE01-00498) (08) - HYDRAULICS
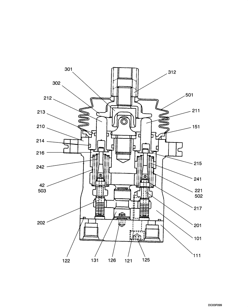
42
212
241
122
501
217
131
502
213
242
301
221
101
210
151
111
215
202
214
201
121
126
125
211
302
312
216
503
FIT
1:1
100%

Артикул

Название

Примечание

Количество

PA30V00002F2

PILOT VALVE

Incl. 101 - 503

1шт.

101

NSS

NOT SOLD SEPARAT

Case

1шт.

111

NSS

NOT SOLD SEPARAT

Plate

1шт.

121

2436U1277S121

WASHER

2шт.

122

NSS

NOT SOLD SEPARAT

O-Ring

1шт.

125

YT30V00008S125

CAPSCREW

2шт.

126

ZP26D05010

PIN

1шт.

131

PH30V00002S131

BUSHING

1шт.

151

YT30V00008S151

PLATE

1шт.

201

NSS

NOT SOLD SEPARAT

Spool

2шт.

202

NSS

NOT SOLD SEPARAT

Spool

2шт.

210

2436U1277S211

PLUG

4шт.

211

2436U2155S212

ROD

2шт.

212

PU30V00002S2122

ROD

2шт.

213

2436U1277S213

SEAL

4шт.

214

ZD12P02000

O-RING,2.4mm Thk x 19.8mm ID, 90 Duro

4шт.

215

NSS

NOT SOLD SEPARAT

Seat, Spring

2шт.

216

NSS

NOT SOLD SEPARAT

Seat, Spring

2шт.

217

2436U1277S217

WASHER

4шт.

241

NSS

NOT SOLD SEPARAT

Spring

2шт.

242

NSS

NOT SOLD SEPARAT

Spring

2шт.

301

2436U2581S301

FLEXIBLE JOINT

1шт.

302

YT30V00008S302

PLATE

1шт.

312

2436U1242S312

NUT

1шт.

501

YT30V00008S501

BOOT

1шт.

502

NSS

NOT SOLD SEPARAT

Spring

2шт.

503

NSS

NOT SOLD SEPARAT

Spring

2шт.

Выбрано товаров: 27