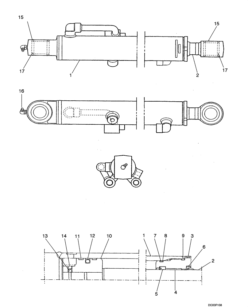
Запчасти Case CX14 (08-51[00]) - CYLINDER ASSY, ARM (08) - HYDRAULICS

Схема запчастей Case CX14 - (08-51[00]) - CYLINDER ASSY, ARM (08) - HYDRAULICS
1
5
7
12
17
17
2
2
15
6
10
8
14
9
1
16
11
4
13
3
15
FIT
1:1
100%

Артикул

Название

Примечание

Количество

PE01V00002F1

CYLINDER ASSY.

Incl. 1 - 17

1шт.

1

PE01V00002S001

TUBE

Incl. 17

1шт.

2

PE01V00002S002

ROD

Incl. 17

1шт.

3

PM01V00009S003

CYLINDER END CAP

1шт.

4

2438U359S4

BUSHING

1шт.

5

PM01V00009S005

BACK-UP RING

1шт.

6

PU01V00013S007

WIPER

1шт.

7

PM01V00009S007

O-RING

1шт.

8

PM01V00009S008

RING, SNAP

RING SNAP

1шт.

9

PM01V00009S009

O-RING

1шт.

10

PU01V00013S015

PISTON

1шт.

11

PU01V00013S016

RING

2шт.

12

PU01V00008S013

SEAL

1шт.

13

2438U988S19

BALL

1шт.

14

2438U988S18

SET SCREW

1шт.

15

PM01V00009S019

GASKET

4шт.

16

ZG91U02000

LUBE NIPPLE

1шт.

17

PE01V00002S101

BUSHING

2шт.

PE01V00002R100

SEAL KIT

Incl. 5 - 9, 11, 12

1шт.

Выбрано товаров: 0