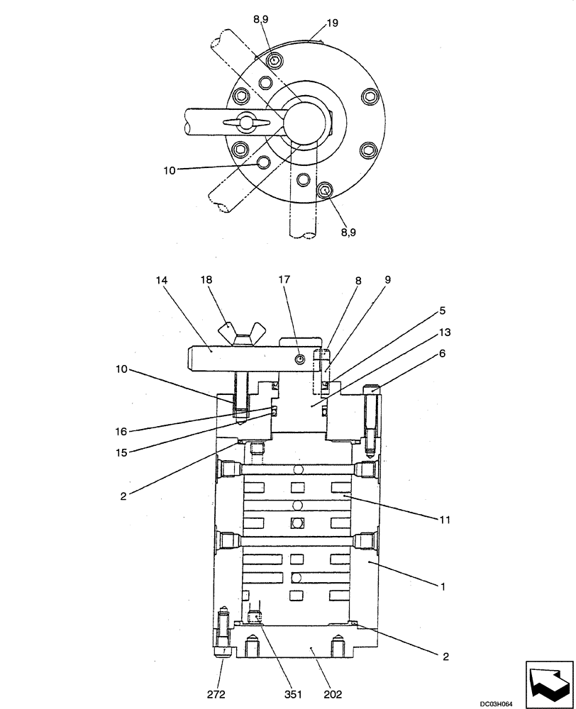
Запчасти Case CX25 (08-58[00]) - VALVE ASSY - SELECTOR, PILOT (08) - HYDRAULICS

Схема запчастей Case CX25 - (08-58[00]) - VALVE ASSY - SELECTOR, PILOT (08) - HYDRAULICS
17
15
202
10
2
8
19
14
9
351
8
8
11
13
10
1
16
272
6
18
9
2
5
9
FIT
1:1
100%

Артикул

Название

Примечание

Количество

1

NSS

NOT SOLD SEPARAT

Case

1шт.

2

ZD12G07000

O-RING,69.40mm ID x 75.60mm OD x 3.10mm

2шт.

5

2436U1244S261

SEAL

1шт.

6

ZS23C06035

SCREW,Hex Socket Head, M6 x 35mm

4шт.

7

ZS23C06020

SCREW,Hex Socket Head, M6 x 20mm

6шт.

8

ZS23C06055

CAPSCREW,Hex Socket Head, M6 x 55mm

2шт.

10

NSS

NOT SOLD SEPARAT

Helisert

4шт.

11

NSS

NOT SOLD SEPARAT

Spool

1шт.

12

NSS

NOT SOLD SEPARAT

Setscrew

8шт.

13

2436U1244S401

PIN

1шт.

15

ZD12P02800

O-RING

1шт.

16

ZD85P02800

BACK-UP RING

1шт.

17

ZP26D06025

PIN

1шт.

19

NSS

NOT SOLD SEPARAT

Name Plate

1шт.

Выбрано товаров: 14