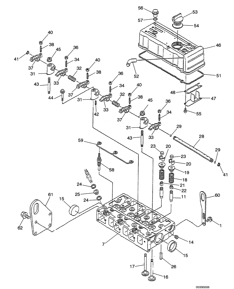
Запчасти Case CX25 (02-14[00]) - CYLINDER HEAD AND COVER (02) - ENGINE

Схема запчастей Case CX25 - (02-14[00]) - CYLINDER HEAD AND COVER (02) - ENGINE
55
1
44
31
28
26
40
16
42
37
38
18
22
45
33
53
58
51
56
31
14
47
32
7
37
61
20
32
17
43
33
31
36
43
48
19
46
57
20
38
15
36
23
62
34
41
23
60
33
29
21
40
41
45
15
59
38
24
37
36
54
34
34
40
29
52
24
25
11
FIT
1:1
100%

Артикул

Название

Примечание

Количество

YANMAR DIESEL ENGINE

1шт.

3TNE74 - NYBB

1шт.

1

VV26106080142

BOLT,M8 x 14mm

M8 x 14 mm

2шт.

7

VV11962411741

HEAD ASSY.

HEAR ASSY., Cylinder Incl. 11 - 25

1шт.

11

VV11962011801

VALVE GUIDE

GUIDE, Valve

6шт.

14

VV23876005000

PLUG

PLUG

1шт.

15

VV27241400000

PLUG

2шт.

16

VV11962311100

VALVE

VALVE, Intake

3шт.

17

VV11962011110

VALVE

VALVE, Exhaust

3шт.

18

VV11962011120

VALVE SPRING

SPRING, Valve

6шт.

19

VV11962011180

RETAINER

RETAINER, Spring

6шт.

20

VV27310070000

COTTER PIN

12шт.

21

VV12416011340

SEAL

3шт.

22

VV12495011340

SEAL

3шт.

23

VV10421111370

CAP

6шт.

24

VV11960011460

GASKET

6шт.

25

VV11960011450

PROTECTOR

PROTECTOR, Nozzle

3шт.

26

VV22351060012

SPRING,6 x 12mm

2шт.

VV11962411200

SUPPORT ASSY.

SUPPORT ASSY., Incl. 28 - 42

1шт.

28

VV11962011240

SHAFT

SHAFT ASSY.

1шт.

29

NSS

NOT SOLD SEPARAT

BALL

2шт.

31

VV12429511260

ROCKER ARM

SUPPORT, Rocker Arm

3шт.

32

VV11962011280

SPRING

SPRING

2шт.

33

VV12429511650

ARM ASSY.

ARM ASSY., Incl 34, 36

3шт.

34

VV10501011230

SCREW

SCREW, Valve

3шт.

36

VV26856060002

LOCK NUT

LOCKNUT

3шт.

37

VV12429511660

ARM ASSY.

ARM ASSY., Incl. 38, 40

3шт.

38

VV10501011230

SCREW

SCREW, Valve

3шт.

40

VV26856060002

LOCK NUT

LOCKNUT

3шт.

41

VV22242000100

CIRCLIP

CIRCLIP

2шт.

42

VV26979050162

SCREW

SCREW M5 x 16 mm

1шт.

43

VV11962011350

STUD

STUD

2шт.

44

VV26106080502

BOLT,M8 x 50mm

M8 x 50 mm

1шт.

45

VV26366080002

NUT,M8

2шт.

46

VV11962411331

COVER ASSY

COVER ASSY., Incl. 47 - 55

1шт.

47

VV11962411600

PLATE

PLATE, Shelter

1шт.

48

VV11962411610

GASKET

GASKET

1шт.

51

VV11962411311

GASKET

1шт.

52

VV11926611390

JOINT

JOINT

1шт.

53

VV12416001751

CAP

1шт.

54

VV24311000320

O-RING

1шт.

55

VV22857500100

SCREW,M5 x 10mm

SCREW 5 x 10 mm, Tapping

2шт.

56

VV12416011360

KNOB

2шт.

57

VV24311000120

O-RING

2шт.

58

VV12915577801

GLOW PLUG

3шт.

59

VV11962077820

CONNECTION

CONNECTOR, Glow Plug

1шт.

60

VV12473607900

LIFT LINK

LIFFTER, Engine

1шт.

61

VV11962407900

LIFT LINK

LIFFTER, Engine

1шт.

62

VV26106060122

BOLT,M6 x 12mm

BOLT M6 x 12 mm

4шт.

Выбрано товаров: 49