Запчасти Case CX25 (03-01[00]) - FUEL TANK (03) - FUEL SYSTEM

Схема запчастей Case CX25 - (03-01[00]) - FUEL TANK (03) - FUEL SYSTEM
8
9
2
14
4
11
12
13
15
15
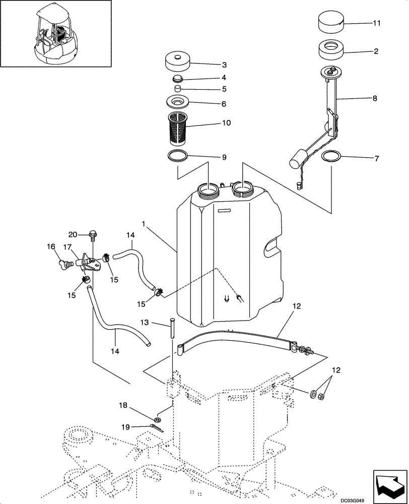
3
19
17
12
16
1
6
18
7
14
15
10
20
5
FIT
1:1
100%

Артикул

Название

Примечание

Количество

PM20P01019F1

CAP ASSY.

Incl. 3 - 6

1шт.

3

PM20P01010P1

CAP

1шт.

4

PM20P01017P1

PACKING

PACKING

1шт.

5

PM20P01018P1

PACKING

PACKING

1шт.

6

PM20P01020P1

RUBBER

RUBBER

1шт.

10

2446R314

FILTER STRAINER

1шт.

14

PA21P01005DM

HOSE

2шт.

15

PH05P01088D6

CLIP

3шт.

16

YN05P00010S007

COCK, DRAIN

1шт.

17

PM05P01046P1

BOSS

1шт.

18

ZW16X10000

WASHER

1шт.

19

ZP16K02528

COTTER PIN

1шт.

20

ZM22C10025

BOLT

1шт.

Выбрано товаров: 13