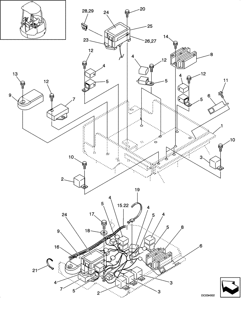
Запчасти Case CX25 (04-06[00]) - RELAY ASSY - CAB (04) - ELECTRICAL SYSTEMS

Схема запчастей Case CX25 - (04-06[00]) - RELAY ASSY - CAB (04) - ELECTRICAL SYSTEMS
6
26
24
12
5
2
4
12
24
6
22
4
5
19
8
12
7
3
18
23
25
9
4
21
4
16
5
4
10
12
11
14
1
17
8
7
5
4
3
4
28
20
9
2
5
3
29
13
27
10
5
15
5
FIT
1:1
100%

Артикул

Название

Примечание

Количество

PM24E00030F3

RELAY ASSY., Incl 1 -30

1шт.

2

PY24S00006P1

RELAY

Safety

1шт.

3

PH24S00001P1

RELAY,12V, 70amp

1) Battery - 2) Engine Stop

2шт.

4

PM24S00001P1

RELAY

1) Nibbler Open - 2) Swivel Select - 3) Deceleration - 4) Work Light

4шт.

5

PA24E01001P1

RELAY,12V - 20amp

1) Nibbler Close - 2) Charge Indicator - 3) Swing Select - 4) Swivel Swing Preservation

4шт.

6

PH25S00002P1

TIMER

1шт.

7

PU13E01008P1

RESISTOR

Glow

1шт.

8

PM13E01028P1

RELAY

Current Limiter

1шт.

9

PA24S00002P3

RELAY,DC12V

Sequence Box Assy.

1шт.

10

ZM61C05012

BOLT

3шт.

11

ZM61C05016

BOLT

1шт.

12

ZM61C06012

BOLT

6шт.

13

ZM61C06020

BOLT

1шт.

14

ZM61C06025

BOLT

BOLT

2шт.

15

PM11E00002F4

HARNESS ASSY., Incl. 16 - 30

1шт.

17

ZM61C06012

BOLT

1шт.

18

ZW16X06000

WASHER

1шт.

19

YN03E01001D5

CLIP

2шт.

20

ZM61C06016

BOLT

2шт.

21

2432Z290

CLIP

1шт.

22

PV14E01003P1

HARNESS

1шт.

24

PM73E01003P1

LABEL

1шт.

25

2479U1458S2

COVER

1шт.

26

2479U1458S1

BASE

1шт.

27

2479U1458S3

BLOCK

2шт.

28

2479R655S8

FUSE,10 Amp

5шт.

29

YN73E00001S022

FUSE,30 Amp

4шт.

30

PH50S00007S001

IGNITION SWITCH

( NOT SHOWN)

1шт.

Выбрано товаров: 28