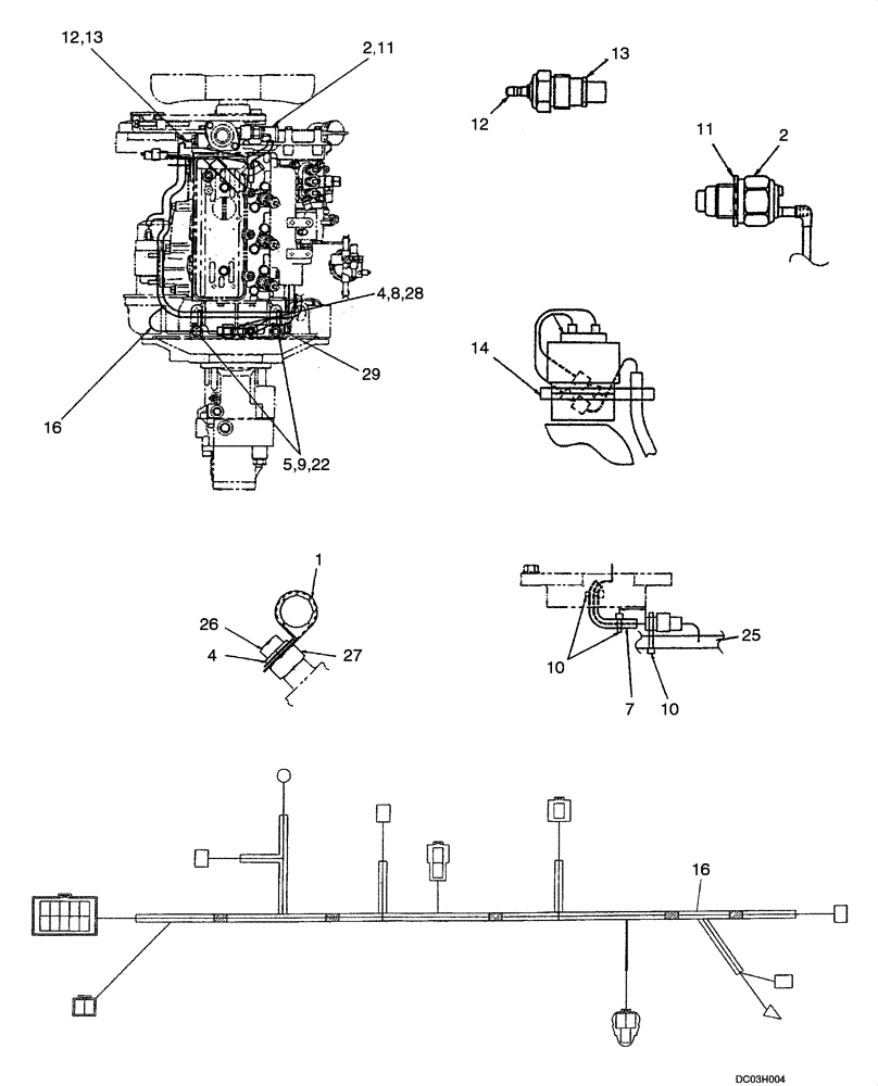
Запчасти Case CX25 (04-09[00]) - HARNESS ASSY - ENGINE (04) - ELECTRICAL SYSTEMS

Схема запчастей Case CX25 - (04-09[00]) - HARNESS ASSY - ENGINE (04) - ELECTRICAL SYSTEMS
12
29
8
1
4
11
4
2
2
26
10
25
13
11
16
22
9
10
5
16
12
14
7
28
13
27
FIT
1:1
100%

Артикул

Название

Примечание

Количество

1

EW02E01015D9

CLIP,20mm ID, P Type

1шт.

2

PM50S00006P1

THERMOSTATIC SWITCH,On - 110 Degrees C, 230 Degrees F

(Used for Engine Coolent Temp Warning)

1шт.

3

ZN18C08007

NUT

1шт.

4

ZW16X08000

WASHER,8mm ID x 17mm OD x 1.6mm Thk

3шт.

5

ZS18C10016

SCREW,Hex, M10 x 16mm

3шт.

7

PE13E01034D1

TUBE

1шт.

8

PM16E01005P1

CLIP

1шт.

9

2432R233D3

CLIP

3шт.

10

PY01P01043D5

CABLE TIE,301mm L

6шт.

11

PM16E01011P1

O-RING

1шт.

12

PA24S00003P1

SENSOR,50-120 Degree C

(Used for Engine Temp Gauge)

1шт.

13

PA13E01027P1

PACKING

1шт.

14

PY01P01043D4

CABLE TIE,4.80mm W x 251mm L

3шт.

16

PV16E01004P1

HARNESS

1шт.

22

ZW16X10000

WASHER

3шт.

25

PM13E01056D1

CABLE

1шт.

26

ZS18C08025

SCREW,Hex, M8 x 25mm

1шт.

27

PE50M01034P1

SPACER

SPACER

1шт.

28

ZS18C08012

SCREW,Hex, M8 x 12mm

1шт.

Выбрано товаров: 19