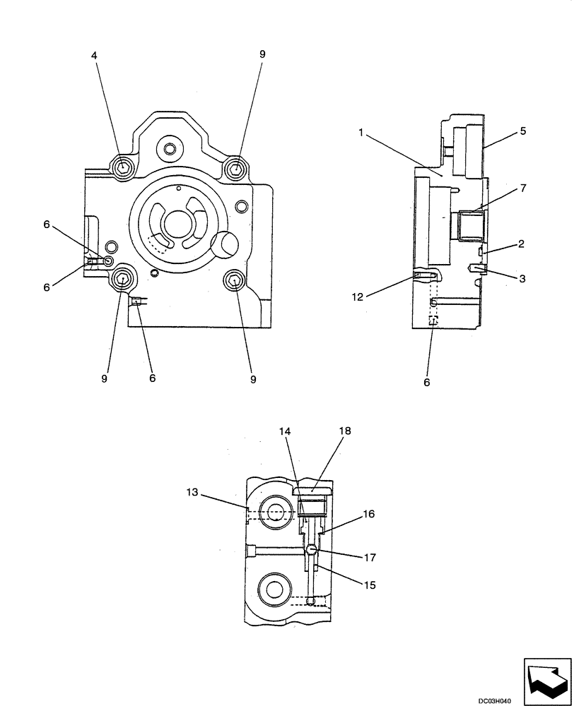
Запчасти Case CX25 (08-23[00]) - PUMP - COVER (08) - HYDRAULICS

Схема запчастей Case CX25 - (08-23[00]) - PUMP - COVER (08) - HYDRAULICS
9
18
13
6
16
9
1
12
2
15
14
4
7
6
6
17
5
3
6
9
FIT
1:1
100%

Артикул

Название

Примечание

Количество

1

NSS

NOT SOLD SEPARAT

Cover

1шт.

2

PM10V01004S002

PLATE

PLATE

1шт.

3

NSS

NOT SOLD SEPARAT

Pin

1шт.

4

ZS23C10040

SCREW,Hex Socket Head, M10 x 40mm

1шт.

5

PM10V01004S005

PACKING

PACKING

1шт.

6

NSS

NOT SOLD SEPARAT

Plug

4шт.

7

NSS

NOT SOLD SEPARAT

Bearing

1шт.

9

ZS23C10050

SCREW,Hex Socket Head, M10 x 50mm

3шт.

12

NSS

NOT SOLD SEPARAT

Orifice

1шт.

13

ZD12P00600

O-RING

1шт.

15

NSS

NOT SOLD SEPARAT

Bushing

1шт.

16

2436U1691S32

PACKING

1шт.

17

PM10V01004S017

BALL

1шт.

Выбрано товаров: 13