Запчасти Case CX25 (08-36[00]) - VALVE ASSY - SUPPLY (08) - HYDRAULICS

Схема запчастей Case CX25 - (08-36[00]) - VALVE ASSY - SUPPLY (08) - HYDRAULICS
3
10
6
1
9
10
2
11
4
6
5
9
7
5
8
FIT
1:1
100%

Артикул

Название

Примечание

Количество

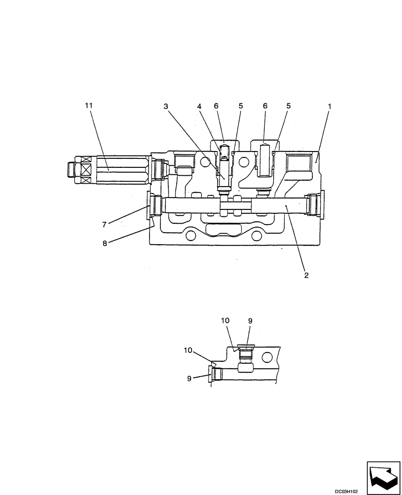
PV30V00026F1

CONTROL VALVE

VALVE ASSY., Incl. 1 - 11

1шт.

1

NSS

NOT SOLD SEPARAT

Body

1шт.

2

NSS

NOT SOLD SEPARAT

Spool

1шт.

3

PW30V01009S002

POPPET

1шт.

4

PH30V00014S013

SPRING

1шт.

5

ZD12P001100

O-RING

2шт.

6

PW30V01009S005

PLUG

2шт.

7

PL30V00007S034

PLUG

2шт.

8

ZD12P01400

O-RING

2шт.

9

2436U1460S20

PLUG

2шт.

10

ZD12P00800

O-RING,1.9mm Thk x 7.8mm ID, 90 Duro

2шт.

11

PM22V00005F6

VALVE

Overload Relief See Figure 08 -46

1шт.

Выбрано товаров: 12