Запчасти Case CX31 (08-66[00]) - VALVE ASSY - PILOT (08) - HYDRAULICS

Схема запчастей Case CX31 - (08-66[00]) - VALVE ASSY - PILOT (08) - HYDRAULICS
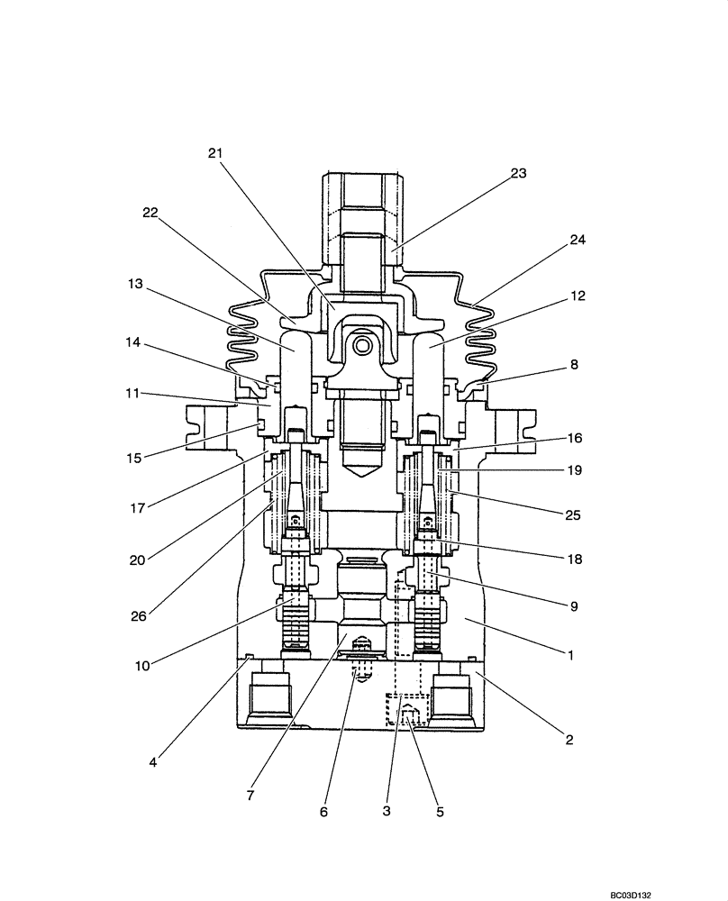
12
17
2
26
9
23
24
7
21
13
6
8
15
22
5
4
11
1
18
16
20
19
25
14
3
10
FIT
1:1
100%

Артикул

Название

Примечание

Количество

PA30V00002F2

PILOT VALVE

Incl. 1 - 26

1шт.

1

NSS

NOT SOLD SEPARAT

Case

1шт.

2

NSS

NOT SOLD SEPARAT

Plate

1шт.

3

2436U1277S121

WASHER

2шт.

4

NSS

NOT SOLD SEPARAT

O-Ring

1шт.

5

YT30V00008S125

CAPSCREW

2шт.

6

ZP26D05010

PIN

1шт.

7

PH30V00002S131

BUSHING

1шт.

8

YT30V00008S151

PLATE

1шт.

9

NSS

NOT SOLD SEPARAT

Spool

2шт.

10

NSS

NOT SOLD SEPARAT

Spool

2шт.

11

2436U1277S211

PLUG

4шт.

12

2436U2155S212

ROD

2шт.

13

PU30V00002S2122

ROD

2шт.

14

2436U1277S213

SEAL

4шт.

15

ZD12P02000

O-RING,2.4mm Thk x 19.8mm ID, 90 Duro

4шт.

16

NSS

NOT SOLD SEPARAT

Seat, Spring

2шт.

17

NSS

NOT SOLD SEPARAT

Seat, Spring

2шт.

18

2436U1277S217

WASHER

4шт.

19

NSS

NOT SOLD SEPARAT

Spring

2шт.

20

NSS

NOT SOLD SEPARAT

Spring

2шт.

21

2436U2581S301

FLEXIBLE JOINT

1шт.

22

YT30V00008S302

PLATE

1шт.

23

2436U1242S312

NUT

1шт.

24

YT30V00008S501

BOOT

1шт.

25

NSS

NOT SOLD SEPARAT

Spring

2шт.

26

NSS

NOT SOLD SEPARAT

Spring

2шт.

Выбрано товаров: 27