Запчасти Case CX31 (08-68[00]) - VALVE, SOLENOID - SWING (08) - HYDRAULICS

Схема запчастей Case CX31 - (08-68[00]) - VALVE, SOLENOID - SWING (08) - HYDRAULICS
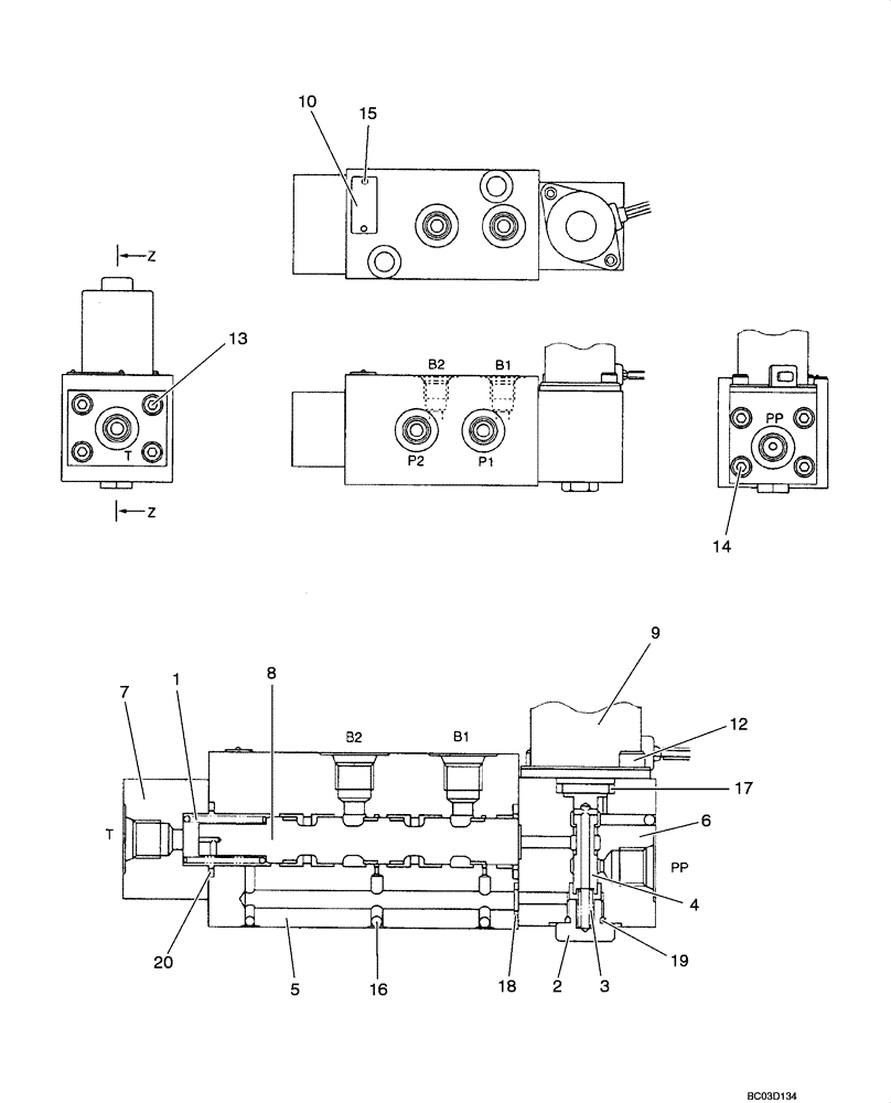
20
17
19
16
13
4
6
9
7
14
12
10
8
3
1
15
2
18
5
FIT
1:1
100%

Артикул

Название

Примечание

Количество

PE35V00001F1

SOLENOID VALVE

(Used for Slew/Swing Select) Incl. 1 - 20

1шт.

1

PE35V00001S001

SPRING

1шт.

2

2436U2159S3

PLUG

1шт.

3

2436U2802S3

SPRING

1шт.

4

YN35V00010S004

SPOOL

SPOOL

1шт.

5

NSS

NOT SOLD SEPARAT

Body

1шт.

6

NSS

NOT SOLD SEPARAT

Body

1шт.

7

YR35V00009S008

COVER

1шт.

8

NSS

NOT SOLD SEPARAT

Spool

1шт.

9

PE35V00001S002

SOLENOID

1шт.

10

NSS

NOT SOLD SEPARAT

Name Plate

1шт.

12

EN35V00004S010

BOLT

2шт.

13

ZS23C36030

CAPSCREW,Hex Socket Head, M36 x 30mm

4шт.

14

ZS23C06050

CAPSCREW,Hex Socket Head, M6 x 50mm

4шт.

15

NSS

NOT SOLD SEPARAT

Screw

2шт.

16

NSS

NOT SOLD SEPARAT

Ball

4шт.

17

ZD11P01600

O-RING

1шт.

18

ZD12P00800

O-RING,1.9mm Thk x 7.8mm ID, 90 Duro

1шт.

19

ZD12P01000

O-RING

1шт.

20

ZD12P02100

O-RING,2.4mm Thk x 20.8mm ID, 90 Duro

2шт.

Выбрано товаров: 20