Запчасти Case CX31 (08-77[00]) - CYLINDER ASSY, BOOM - CAB (CX31 ASN PW10 - 22001) (08) - HYDRAULICS

Схема запчастей Case CX31 - (08-77[00]) - CYLINDER ASSY, BOOM - CAB (CX31 ASN PW10 - 22001) (08) - HYDRAULICS
14
10
13
4
26
20
22
19
7
21
5
24
8
17
27
25
12
6
30
2
20
7
15
29
23
18
11
31
9
28
3
1
16
21
FIT
1:1
100%

Артикул

Название

Примечание

Количество

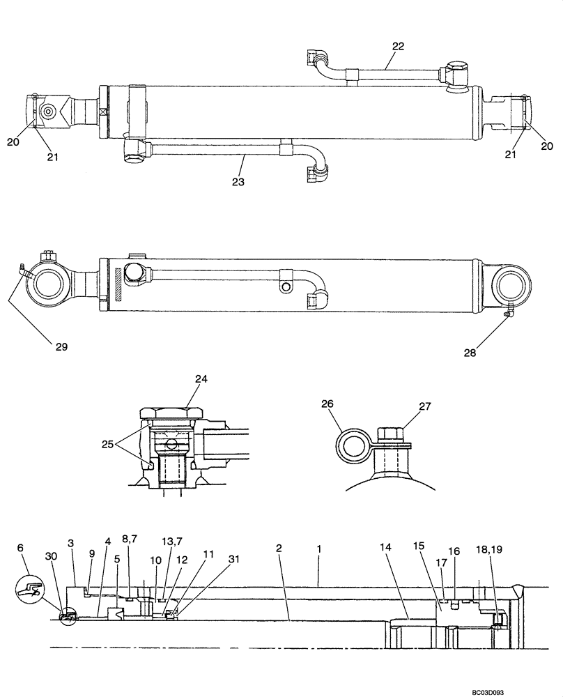
PW01V00044F2

CYLINDER ASSY.

BOOM Incl. 1 - 31

1шт.

1

NSS

NOT SOLD SEPARAT

Cylinder Tube Assy.

1шт.

2

NSS

NOT SOLD SEPARAT

Piston Rod Assy.

1шт.

3

PW01V00043S003

CYLINDER HEAD

1шт.

4

PW01V00010S004

BUSHING

1шт.

5

2438U635S3

RING

1шт.

6

PH01V00006S006

RING

1шт.

7

ZD12G07500

O-RING,74.40mm ID x 80.60mm OD x 3.10mm

1шт.

8

PH01V00015S008

BACK-UP RING

1шт.

9

ZD11G08000

O-RING,79.40mm ID x 85.60mm OD x 3.10mm

1шт.

10

PH01V00015S010

HOLDER

1шт.

11

PH01V00015S011

SEAL

1шт.

12

PH01C00015S012

COLLAR

1шт.

13

PW01V00014S008

BACK-UP RING

1шт.

14

PW01V00043S014

BEARING

1шт.

15

PW01V00043S015

PISTON

1шт.

16

2438U852S15

RING

1шт.

17

PH01V00015S017

RING

1шт.

18

2438U1057S16

SET SCREW

1шт.

19

2436U946S11

BALL

1шт.

20

PW01V01086D1

BUSHING

1шт.

21

2438U1163S25

SEAL

1шт.

22

PW01V00043S022

PIPE ASSY.

1шт.

23

PW01V00043S023

PIPE ASSY.

1шт.

24

PH01V00017S027

PLUG

2шт.

25

ZD12P02290

O-RING

4шт.

26

PW01V00043S226

HOLDER

2шт.

27

PH01V00014S027

BOLT

2шт.

28

ZG91U02000

LUBE NIPPLE

1шт.

29

2438U1119S19

LUBE NIPPLE,67 Degree x 1/8" PT

1шт.

30

PW01V00043S030

CAP

1шт.

31

PH01V00015S024

CAP

1шт.

PW01V00043R100

REPAIR KIT

Piston Side, Incl. 1, 20

1шт.

PW01V00043R200

REPAIR KIT

Rod Side,Incl. 2, 20

1шт.

PW01V00043R300

REPAIR KIT

Incl. 5 - 9, 13, 16, 17

1шт.

Выбрано товаров: 35