Запчасти Case CX31 (08-83[00]) - CYLINDER, DOZER BLADE (CX31 ASN PW10 - 22001) (08) - HYDRAULICS

Схема запчастей Case CX31 - (08-83[00]) - CYLINDER, DOZER BLADE (CX31 ASN PW10 - 22001) (08) - HYDRAULICS
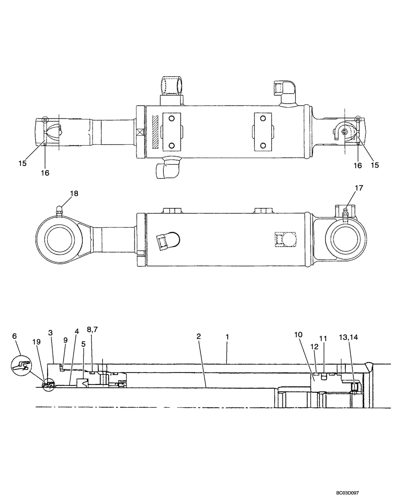
8
4
13
14
19
6
10
18
3
5
1
12
16
9
7
6
15
11
2
15
17
FIT
1:1
100%

Артикул

Название

Примечание

Количество

PW01V00048F1

CYLINDER ASSY.

Incl. 1 - 19

1шт.

1

NSS

NOT SOLD SEPARAT

Cylinder Tube Assy.

1шт.

2

NSS

NOT SOLD SEPARAT

Piston Rod Assy.

1шт.

3

PW01V00048S003

CYLINDER HEAD

1шт.

4

PW01V00010S004

BUSHING

1шт.

5

2438U635S3

RING

1шт.

6

PH01V0006S006

RING

1шт.

7

ZG12G07500

O-RING

1шт.

8

PH01V00015S008

BACK-UP RING

1шт.

9

ZD11G08000

O-RING,79.40mm ID x 85.60mm OD x 3.10mm

1шт.

10

PW01V00043S015

PISTON

1шт.

11

2438U852S15

RING

1шт.

12

PH01V00015S017

RING

2шт.

13

2438U1057S16

SET SCREW

1шт.

14

2436U946S11

BALL

1шт.

15

PV12V00025S015

BUSHING

2шт.

16

2438U1163S11

RING

4шт.

17

ZG91S02000

LUBE NIPPLE,1/8" NPT x 1/8" NPT

1шт.

18

ZG91U02000

LUBE NIPPLE

1шт.

19

PW01V00043S030

CAP

1шт.

PW01V00048R100

REPAIR KIT

Piston Side, Incl. 1, 15

1шт.

PW01V00048R200

REPAIR KIT

Rod Side, Incl. 2, 15

1шт.

PW01V00048R300

REPAIR KIT

Incl. 5 - 9, 11, 12

1шт.

Выбрано товаров: 0