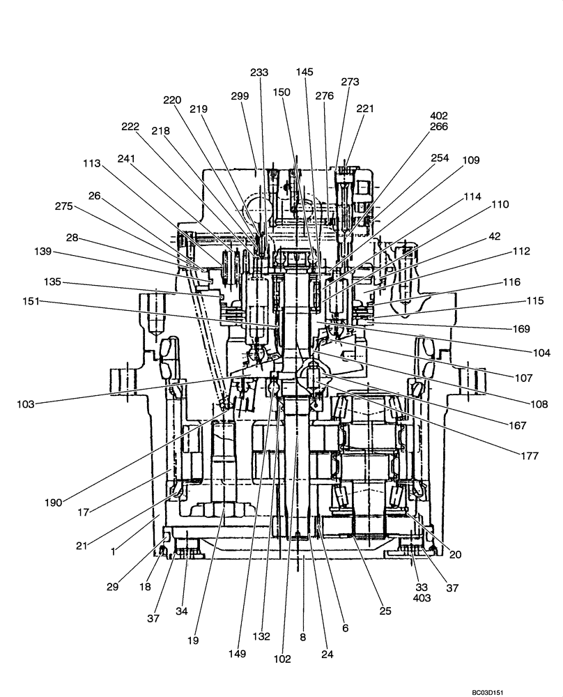
Запчасти Case CX31 (06-02[00]) - MOTOR - TRACK DRIVE (CX31 ASN PW10 - 22001) (06) - POWER TRAIN

Схема запчастей Case CX31 - (06-02[00]) - MOTOR - TRACK DRIVE (CX31 ASN PW10 - 22001) (06) - POWER TRAIN
25
116
241
276
42
6
132
33
167
8
114
135
266
24
1
19
37
145
113
273
169
108
18
221
26
107
37
29
220
402
254
115
190
103
275
139
110
222
21
150
403
104
102
109
151
218
233
177
28
20
219
299
112
17
149
34
FIT
1:1
100%

Артикул

Название

Примечание

Количество

PW15V00018F3

HYDRAULIC MOTOR

Incl. 1 - 403

2шт.

1

PW15V00018S001

HUB

1шт.

6

PW15V00018S006

GEAR

1шт.

8

PW15V00018S008

COVER

1шт.

17

PW15V00018S017

PIN

28шт.

18

PW15V00018S018

RING

1шт.

19

2441U831S19

BOLT

2шт.

20

EN01W00009S013

RING

2шт.

21

PW15V00018S021

BALL BEARING

2шт.

24

ZR16X01500

SNAP RING

1шт.

25

ZR16X02200

RING

4шт.

26

PH15V00009S030

O-RING

1шт.

28

ZD12P01800

O-RING

2шт.

34

YR15V00002S121

PLUG

2шт.

35

PH15V00009S035

BOLT

2шт.

37

ZD12P01400

O-RING

3шт.

42

PY15V00006S142

PIN

2шт.

102

PW15V00018S102

SHAFT

1шт.

103

PW15V00018S103

PLATE

1шт.

104

PW15V00018S104

BLOCK

1шт.

107

PW15V00018S107

PLATE

1шт.

108

2441U831S108

BALL

1шт.

109

PW15V00018S109

PLATE

1шт.

110

2441U831S110

WASHER

2шт.

112

PH15V00009S112

PISTON

1шт.

113

PH15V00009S113

SPRING

8шт.

115

PW01V00018S115

PLATE

2шт.

116

YJ15V00002S116

PLATE

2шт.

132

2441U831S132

OIL SEAL

1шт.

135

PY15V00005S135

O-RING

1шт.

139

PH15V00009S139

O-RING

1шт.

145

2441U831S145

RING

1шт.

149

YJ15V00002S149

BALL BEARING

1шт.

150

2441U831S150

BALL BEARING

1шт.

151

PH15V00009S151

ROLLER

3шт.

167

PY15V00002S167

SPOOL

2шт.

169

YJ15V00002S169

PLATE

1шт.

177

PH15V00009S177

PIN

1шт.

190

PW15V0001B190

SPRING

1шт.

218

YJ15V00002S118

SEAT

1шт.

219

PH15V00009S219

CHECK VALVE

1шт.

220

YJ15V00002S120

SPRING

1шт.

221

2441U995S192

PLUG

2шт.

224

PH15V00009S224

PLUG

2шт.

225

PH15V00009S225

SEAT

2шт.

226

2441U831S126

PLUG

2шт.

227

2241U831S127

CHECK VALVE

2шт.

228

PH15V00009S228

SPRING

2шт.

230

2441U8311S130

SPRING

2шт.

233

ZD12P00700

O-RING,1.6mm Thk x 6.8mm ID, 90 Duro

1шт.

236

ZD12P02200

O-RING

2шт.

237

ZD12P01200

O-RING

2шт.

241

2441U815S141

PIN

2шт.

243

ZS23C08020

SCREW,Hex Socket Head, M8 x 20mm

6шт.

252

YX15V00003S146

PLUG

3шт.

254

PY15V00006S154

PLUG

6шт.

268

PH15V00009S268

BALL

1шт.

273

ZD12P01100

O-RING

2шт.

275

PH15V00009S275

ORIFICE

4шт.

280

PH15V00009S280

PLUG

1шт.

299

PH15V00009S299

LABEL

1шт.

402

PH15V00009S401

SPRING

1шт.

403

YT15V00008S033

PLUG

1шт.

PW15V00018R300

REPAIR KIT

Incl. 2, 3, 19, 35

1шт.

PW15V00018R310

REPAIR KIT

Incl. 4, 9, 12, 22

1шт.

PW15V00018R320

REPAIR KIT

Incl. 7

1шт.

PW15V00018R330

REPAIR KIT

Incl. 31

1шт.

PW15V00018R340

REPAIR KIT

Incl. 105, 106

1шт.

PW15V00018R350

REPAIR KIT

Incl. 161, 162

1шт.

PW15V00018R380

REPAIR KIT

Incl. 26, 29, 132, 135, 139, 233, 28, 31, 236, 237, 273, 37

1шт.

PW15V00018R390

REPAIR KIT

Incl. 201, 223, 218, 219, 401, 220, 222, 233, 264, 402, 268,280, 299, 221, 224, 225, 226, 227,228,230, 236, 237, 241,275, 243, 254

1шт.

PH15V00009R410

REPAIR KIT

Incl. 264, 401

1шт.

PW15V00018R410

REPAIR KIT

Incl. 2, 3)

1шт.

PW15V00018R420

REPAIR KIT

Incl. 201, 223

1шт.

PW15V00018R430

REPAIR KIT

Incl. 105, 106

1шт.

Выбрано товаров: 75