Запчасти Case CX31 (08-28[00]) - PUMP - GEAR (08) - HYDRAULICS

Схема запчастей Case CX31 - (08-28[00]) - PUMP - GEAR (08) - HYDRAULICS
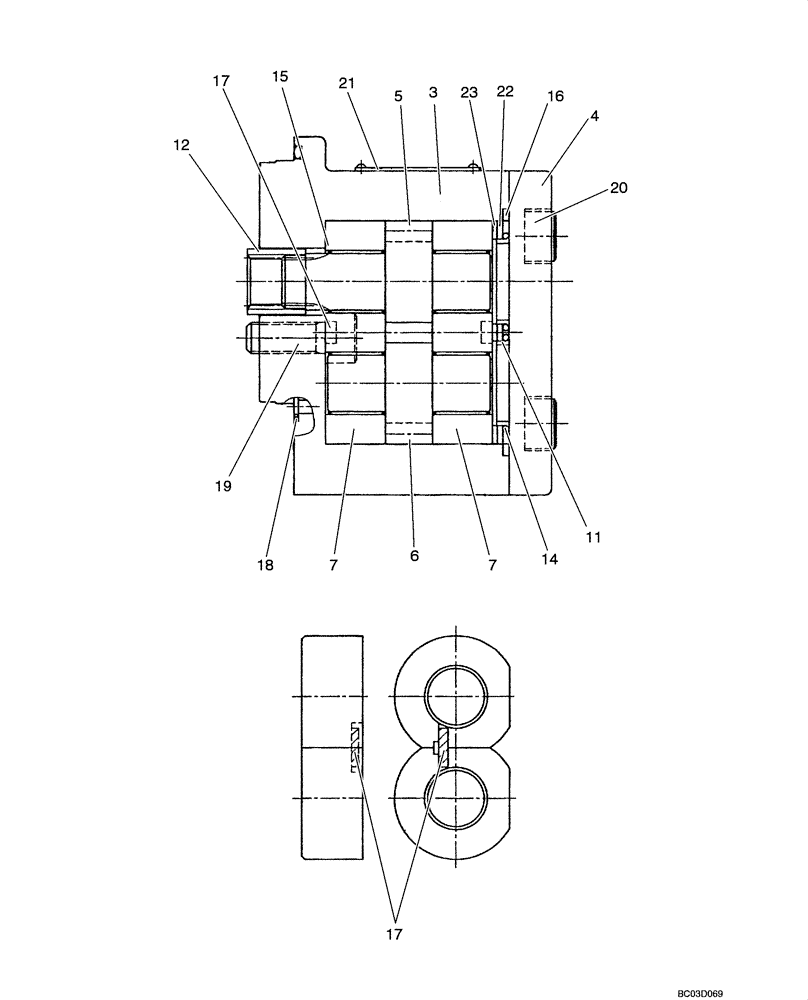
18
15
23
17
11
7
21
6
20
5
19
16
4
7
12
3
17
14
22
FIT
1:1
100%

Артикул

Название

Примечание

Количество

PW10V01006F1

PUMP

Incl. 3 - 23

1шт.

3

NSS

NOT SOLD SEPARAT

Housing

1шт.

4

PM10V00014S004

COVER

1шт.

5

NSS

NOT SOLD SEPARAT

Gear, Drive

1шт.

6

NSS

NOT SOLD SEPARAT

Gear

1шт.

7

NSS

NOT SOLD SEPARAT

Plate

2шт.

11

2441U466S48

GUIDE

2шт.

12

PW10V01006S012

COUPLING

1шт.

14

2441U661S13

O-RING

2шт.

15

ZD11G09000

O-RING,89.40mm ID x 95.60mm OD x 3.10mm

1шт.

16

2441U661S11

RING

1шт.

17

2437U392S16

RING

2шт.

18

ZD12P00600

O-RING

1шт.

19

ZS23C10025

SCREW,Hex Socket Head, M10 x 25mm

2шт.

20

ZS23C10020

SCREW,Hex Socket Head, M10 x 20mm

4шт.

21

PY10V00008S040

LABEL

1шт.

22

PW10V01006S040

LABEL

1шт.

23

PW10V01006S041

LABEL

1шт.

Выбрано товаров: 18