Запчасти Case CX31 (08-29[00]) - PUMP - HOUSING (08) - HYDRAULICS

Схема запчастей Case CX31 - (08-29[00]) - PUMP - HOUSING (08) - HYDRAULICS
4
9
12
17
14
9
8
23
5
30
16
31
32
6
33
14
15
6
22
1
20
11
13
7
18
21
19
2
24
FIT
1:1
100%

Артикул

Название

Примечание

Количество

PW10V01007F1

BODY

CX31, Incl. 1 - 32

1шт.

PW10V01007F2

BODY

CX36, Incl. 1 - 4, 6 - 33

1шт.

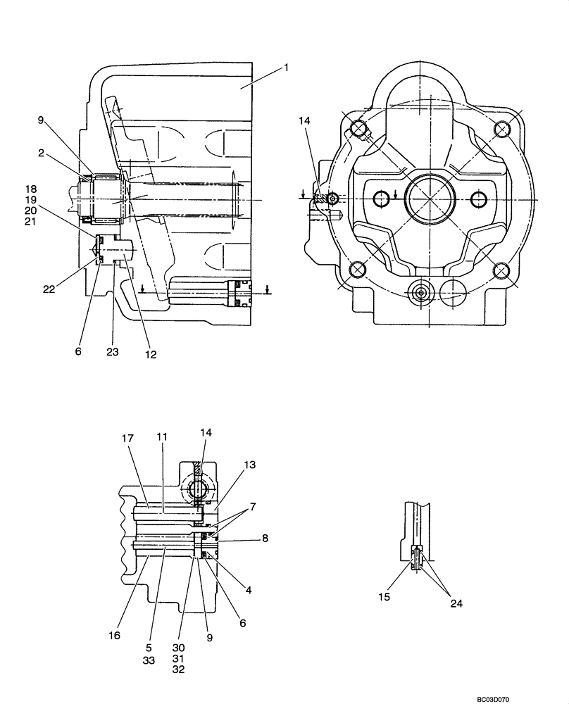
1

NSS

NOT SOLD SEPARAT

Housing

1шт.

2

NSS

NOT SOLD SEPARAT

Oil Seal

1шт.

3

NSS

NOT SOLD SEPARAT

Bearing

1шт.

4

NSS

NOT SOLD SEPARAT

Piston

1шт.

5

NSS

NOT SOLD SEPARAT

Pin (6 x 46,4 mm) CX31 Only

1шт.

6

NSS

NOT SOLD SEPARAT

Spring, Coned Disk

1шт.

7

NSS

NOT SOLD SEPARAT

O-Ring

3шт.

8

NSS

NOT SOLD SEPARAT

O-Ring

1шт.

9

NSS

NOT SOLD SEPARAT

Piece, Distance

1шт.

11

NSS

NOT SOLD SEPARAT

Pin

1шт.

12

NSS

NOT SOLD SEPARAT

Guide

1шт.

13

NSS

NOT SOLD SEPARAT

Piston

2шт.

14

NSS

NOT SOLD SEPARAT

Plug

1шт.

15

PW10V01007S015

SLEEVE

1шт.

16

NSS

NOT SOLD SEPARAT

Sleeve

1шт.

17

NSS

NOT SOLD SEPARAT

Sleeve

1шт.

18

NSS

NOT SOLD SEPARAT

Shim 0,1 mm

1шт.

19

NSS

NOT SOLD SEPARAT

Shim 0,3 mm

1шт.

20

NSS

NOT SOLD SEPARAT

Shim 0,5 mm

1шт.

21

NSS

NOT SOLD SEPARAT

Shim 1,0 mm

1шт.

22

NSS

NOT SOLD SEPARAT

Piece, Distance

1шт.

23

NSS

NOT SOLD SEPARAT

Ring, Retaining

1шт.

24

ZR26X03800

SNAP RING

1шт.

30

NSS

NOT SOLD SEPARAT

Shim 0,1 mm

1шт.

31

NSS

NOT SOLD SEPARAT

Shim 0,5 mm

1шт.

32

NSS

NOT SOLD SEPARAT

Shim 1,0 mm

1шт.

33

NSS

NOT SOLD SEPARAT

Pin (6 x 45,6 mm) CX36 Only

1шт.

Выбрано товаров: 29