Запчасти Case CX31 (08-35[00]) - MOTOR, SWING (CX31 ASN PW10 - 22001) (08) - HYDRAULICS

Схема запчастей Case CX31 - (08-35[00]) - MOTOR, SWING (CX31 ASN PW10 - 22001) (08) - HYDRAULICS
37
15
32
16
8
14
42
17
35
25
45
24
39
9
6
1
29
40
19
23
33
46
30
5
22
28
10
12
41
21
11
8
26
36
38
4
2
34
7
13
44
31
3
27
20
43
FIT
1:1
100%

Артикул

Название

Примечание

Количество

PW15V01020F2

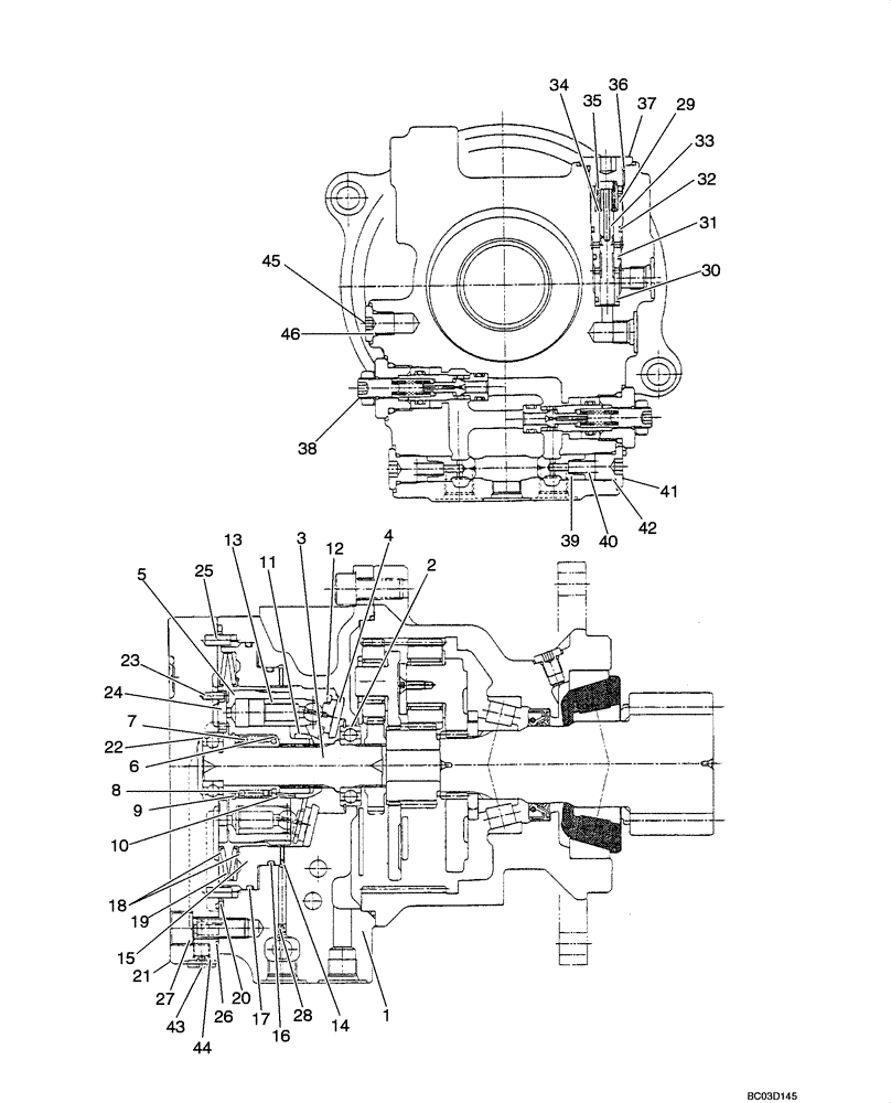
HYDRAULIC MOTOR

CX31 Incl 1 - 46

1шт.

2

PW15V01020S002

BEARING

1шт.

3

PW15V01020S003

SHAFT

1шт.

4

PW15V01020S004

PLATE

1шт.

5

PW15V01020S005

CYLINDER BLOCK

1шт.

6

2441U942S36

COLLAR

1шт.

7

PX15V01001S115

SPRING

1шт.

8

PX15V01001S116

WASHER

1шт.

9

ZR26X03700

SNAP RING

1шт.

10

PX15V01001S113

PIN

3шт.

11

2441U942S41

HOLDER

1шт.

12

PW15V01020S012

PLATE

1шт.

13

PW15V01020S013

PISTON ASSY

9шт.

14

PW15V01020S014

DISC

1шт.

15

PW15V01020S015

PISTON

1шт.

16

PW15V01020S016

O-RING

1шт.

17

PW15V01020S017

O-RING

1шт.

18

PW15V01020S018

SPRING

2шт.

19

PW15V01020S019

SPRING

1шт.

20

PW15V01020S020

O-RING

1шт.

21

PW15V01020S021

COVER

1шт.

22

PW15V01020S022

BALL BEARING

1шт.

23

PW15V01020S023

PIN

1шт.

24

PX15V01001S005

VALVE

1шт.

25

PW15V01020S025

PIN

2шт.

26

PW15V01020S026

O-RING

2шт.

27

PW15V01020S027

BOLT

5шт.

28

PW15V01020S028

ORIFICE

1шт.

PW15V01021F1

VALVE

Incl. 29 - 33

1шт.

29

PW15V01021S001

SLEEVE

1шт.

30

PW15V01021S002

O-RING

1шт.

31

ZD12P01200

O-RING

1шт.

32

PW15V01021S004

O-RING

1шт.

33

PW15V01021S005

SPOOL

1шт.

34

PW15V01020S034

WASHER

1шт.

35

PW15V01020S035

SPRING

1шт.

36

PW15V01020S036

O-RING

1шт.

37

PW15V01020S037

PLUG

1шт.

38

PW15V01022F2

VALVE

See Figure 08 -37

2шт.

39

PW15V01020S039

VALVE

2шт.

40

PW15V01020S040

SPRING

2шт.

41

2441U802S58

PLUG

2шт.

42

ZD12P01400

O-RING

2шт.

43

PX15V01005S207

PLUG

2шт.

44

ZD12P00800

O-RING,1.9mm Thk x 7.8mm ID, 90 Duro

2шт.

45

2441U984S35

PLUG

1шт.

46

ZD12P01100

O-RING

1шт.

PW15V00016R100

REPAIR KIT

Incl. Figure 08 -34 (35, 36), Figure 08 -35 (16, 17, 20, 26, 31, 32, 33, 36, 42, 44, 46), Figure 08 -37 (8, 9, 44, 13)

1шт.

Выбрано товаров: 0