Запчасти Case CX36 (08-79[00]) - CYLINDER ASSY, BOOM - CAB (CX36 ASN PX11 - 08901) (08) - HYDRAULICS

Схема запчастей Case CX36 - (08-79[00]) - CYLINDER ASSY, BOOM - CAB (CX36 ASN PX11 - 08901) (08) - HYDRAULICS
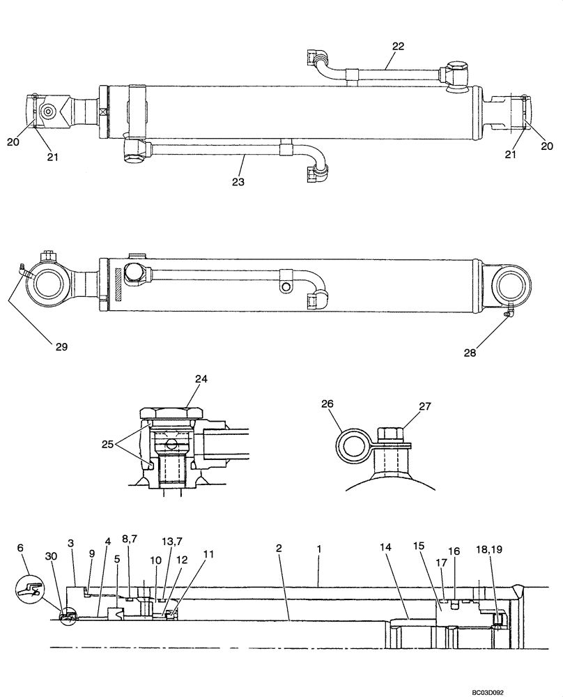
20
19
5
15
1
22
14
20
27
28
2
7
21
30
18
29
23
13
21
16
11
3
6
4
26
17
12
24
10
9
25
8
7
FIT
1:1
100%

Артикул

Название

Примечание

Количество

PX01V00031F2

CYLINDER ASSY.

Incl. 1 - 30

1шт.

1

NSS

NOT SOLD SEPARAT

Cylinder Tube Assy.

1шт.

2

NSS

NOT SOLD SEPARAT

Piston Rod Assy.

1шт.

3

PX01V00030S003

CYLINDER HEAD

1шт.

4

PH01V00014S004

BUSHING

1шт.

5

2438U345S15

RING

1шт.

6

PH01V00011S006

GASKET

1шт.

7

ZD12G08000

O-RING,79.40mm ID x 85.60mm OD x 3.10mm

1шт.

8

ZD11G08500

O-RING,84.40mm ID x 90.60mm OD x 3.10mm

1шт.

9

PX01V00030S009

O-RING

1шт.

10

PX01V00030S010

HOLDER

1шт.

11

PH01V00014S011

SEAL

1шт.

12

PH01C00014S012

COLLAR

1шт.

13

PX01V00010S008

BACK-UP RING

1шт.

14

PH01V00017S014

BEARING

1шт.

15

PX01V00030S015

PISTON

1шт.

16

YR01V00003S014

SEAL

1шт.

17

PX01V00030S017

RING

1шт.

18

2438U1057S16

SET SCREW

1шт.

19

2436U946S11

BALL

1шт.

20

PW01V01086D1

BUSHING

1шт.

21

2438U1163S25

SEAL

1шт.

22

PX01V00030S022

PIPE ASSY.

1шт.

23

PX01V00030S023

PIPE ASSY.

1шт.

24

PH01V00017S027

PLUG

2шт.

25

ZD12P02290

O-RING

4шт.

26

PW01V00043S226

HOLDER

2шт.

27

PH01V00014S027

BOLT

2шт.

28

ZG91U02000

LUBE NIPPLE

1шт.

29

2438U1119S19

LUBE NIPPLE,67 Degree x 1/8" PT

1шт.

30

PX01V00030S030

CAP

1шт.

PX01V00031R100

KIT

CYLINDER REPAIR KIT, Piston Side, Incl. 1, 20

1шт.

PX01V00030R200

REPAIR KIT

Rod Side, Incl. 2, 20

1шт.

PX01V00030R300

REPAIR KIT

Incl. 5 - 9, 13, 16, 17

1шт.

Выбрано товаров: 34