Запчасти Case CX36 (08-84[00]) - CYLINDER, DOZER BLADE (CX36 ASN PX11 - 08901) (08) - HYDRAULICS

Схема запчастей Case CX36 - (08-84[00]) - CYLINDER, DOZER BLADE (CX36 ASN PX11 - 08901) (08) - HYDRAULICS
10
6
8
15
1
18
13
9
12
4
11
6
15
19
17
5
3
14
16
2
7
FIT
1:1
100%

Артикул

Название

Примечание

Количество

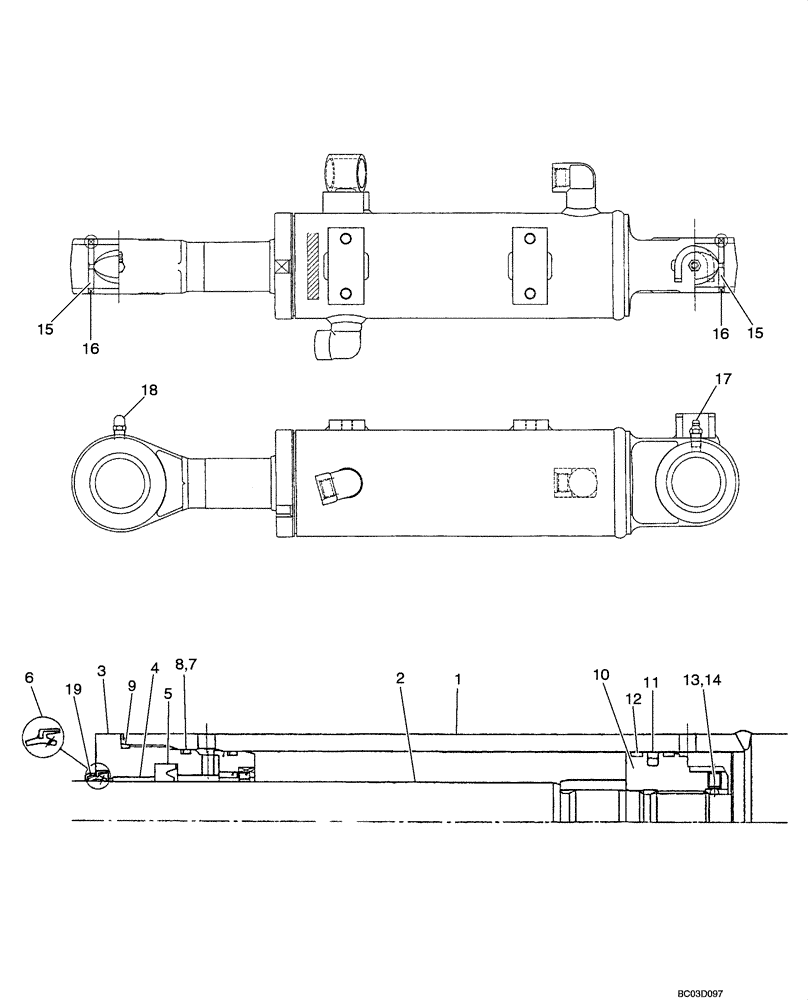
PX01V00033F1

CYLINDER ASSY.

Incl. 1 - 19

1шт.

1

NSS

NOT SOLD SEPARAT

Cylinder Tube Assy.

1шт.

2

NSS

NOT SOLD SEPARAT

Piston Rod Assy.

1шт.

3

PX01V00033S003

CYLINDER HEAD

1шт.

4

PW01V00010S004

BUSHING

1шт.

5

2438U635S3

RING

1шт.

6

PH01V0006S006

RING

1шт.

7

ZD12G08500

O-RING,84.40mm ID x 90.60mm OD x 3.10mm

1шт.

8

PH01V00014S008

BACK-UP RING

1шт.

9

ZD11G09000

O-RING,89.40mm ID x 95.60mm OD x 3.10mm

1шт.

10

PX01V00033S010

PISTON

1шт.

11

2438U715S24

RING

1шт.

12

PH01V00014S017

RING

2шт.

13

2438U1057S16

SET SCREW

1шт.

14

2436U946S11

BALL

1шт.

15

PV01V00025S015

BUSHING

2шт.

16

2438U1163S25

SEAL

4шт.

17

ZG91S02000

LUBE NIPPLE,1/8" NPT x 1/8" NPT

1шт.

18

ZG91U02000

LUBE NIPPLE

1шт.

19

PW01V00043S030

CAP

1шт.

PX01V00033R100

REPAIR KIT

Piston Side, Incl. 1, 15

1шт.

PX01V00033R200

KIT

Rod Side, Incl. 2, 15

1шт.

PX01V00033R300

REPAIR KIT

Incl. 5 - 9, 11, 12

1шт.

Выбрано товаров: 23