Качественные детали и логистика
Оригинальные и аналоговые запчасти с доставкой по России, Казахстану и Беларуси
©2022 PartSell ООО "Система" ИНН 2463123282 ОГРН 1212400004838
Центральный офис: г. Красноярск, Академика Киренского, д.87, пом.4
Телефон: 8 (800) 777-65-74 Email: zakaz@partsell.ru
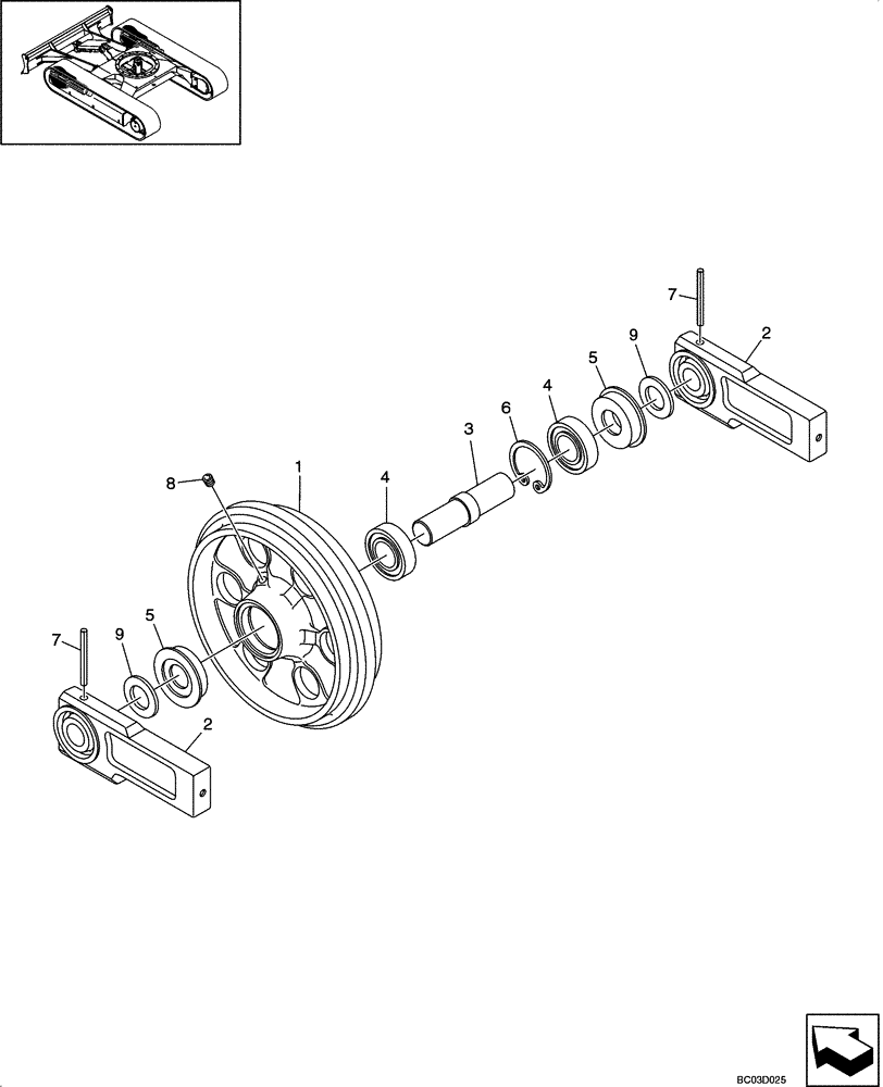
(05-08[00]) - TRACK - IDLER ASSY
№
Артикул
Название
Примечание
Количество
PW52D00010F1
IDLER
Incl. 1 - 9
1шт.
1
PW52D00003P1
2
PW52D01017P1
COLLAR
2шт.
3
PW52D01018P1
SHAFT
4
PW52D01009P1
BEARING,35mm ID x 80mm OD x 21mm W
5
PH52D01006P1
SEAL,41mm ID x 88mm OD x 19mm Thk
6
ZR26X08000
SNAP RING
7
PN03M01006D6
PIN
8
PV52D01007P1
PLUG
9
PW52D01013P1
SHIM
Выбрано товаров: 0