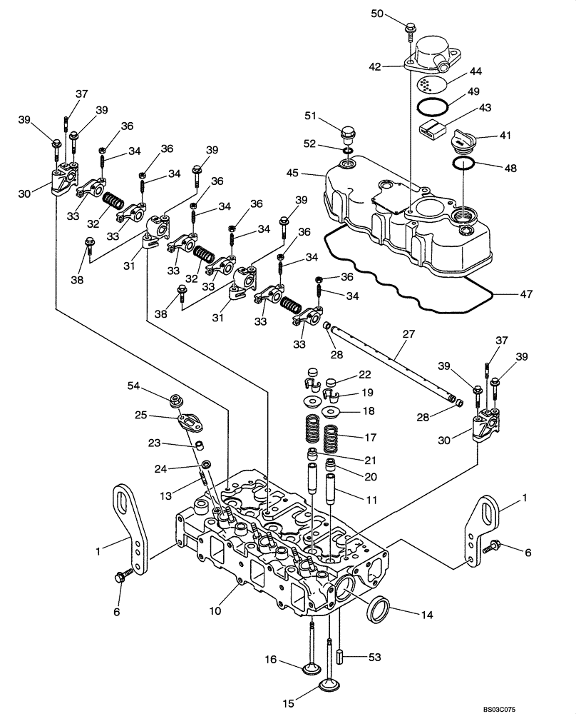
Запчасти Case CX36 (02-15[00]) - CYLINDER HEAD AND COVER (02) - ENGINE

Схема запчастей Case CX36 - (02-15[00]) - CYLINDER HEAD AND COVER (02) - ENGINE
36
47
39
38
28
34
34
28
33
53
50
32
45
16
37
49
31
30
43
39
39
39
34
39
42
1
54
30
51
6
19
36
18
13
48
34
21
11
36
34
27
14
17
36
1
33
10
41
6
36
36
33
15
52
32
31
33
33
37
24
38
33
22
34
25
20
39
44
23
FIT
1:1
100%

Артикул

Название

Примечание

Количество

YANMAR DIESEL ENGINE

1шт.

3TNE82A-EYBC, CX31

1шт.

3TNE82A-EYBD, CX36

1шт.

1

VV12948607901

LIFTING EYE

2шт.

6

VV26106080142

BOLT,M8 x 14mm

M8 x 14 mm

4шт.

VV11981211700

HEAD ASSY.

Incl. 10, 11, 13 - 25

1шт.

10

NSS

NOT SOLD SEPARAT

Cylinder Head

1шт.

11

VV12406011800

VALVE GUIDE

6шт.

13

VV26216060302

STUD,M6 x 30mm

M6 x 30 mm

6шт.

14

VV27241400000

PLUG

2шт.

15

VV11981011100

VALVE

3шт.

16

VV11981011110

VALVE

3шт.

17

VV11981011120

SPRING

6шт.

18

VV10421111180

RETAINER

6шт.

19

VV27310070000

COTTER PIN

6шт.

20

VV12416011340

SEAL

3шт.

21

VV12495011340

SEAL

3шт.

22

VV10421111370

CAP

6шт.

23

VV11962511870

SEAL PROTECTION

3шт.

24

VV11962511880

SEAL

3шт.

25

VV11962511900

RETAINER

3шт.

VV11986511210

SUPPORT ASSY.

Incl. 27, 30 - 34, 36, 37

1шт.

27

VV11981011240

SHAFT

Incl. 28

1шт.

28

NSS

NOT SOLD SEPARAT

Sleeve

2шт.

30

VV12915511260

SUPPORT

2шт.

31

VV12915511270

SUPPORT

2шт.

32

VV12915011280

SPRING

3шт.

VV71981011660

ARM ASSY.

Incl. 33, 34, 36

6шт.

33

NSS

NOT SOLD SEPARAT

Rocker

6шт.

34

VV12915011230

SCREW

6шт.

36

VV12915011750

NUT

M8 x P1,0 mm

6шт.

37

VV26226080182

STUD,M8 x 18mm

M8 x 18 mm

3шт.

38

VV26106080252

BOLT,M8 x 25mm

M8 x 25 mm

2шт.

39

VV26106080502

BOLT,M8 x 50mm

M8 x 50 mm

6шт.

VV71981011521

CYLINDER HEAD

Incl. 41 - 45, 47 - 50

1шт.

41

VV12416001751

CAP

1шт.

42

VV12915003020

COVER

1шт.

43

VV12915003070

BAFFLE

1шт.

44

VV12915003080

PLATE

1шт.

45

NSS

NOT SOLD SEPARAT

Cover, Cylinder Head

1шт.

47

VV11986511310

GASKET

1шт.

48

VV24311000320

O-RING

1шт.

49

VV24341000500

O-RING

1шт.

50

VV26106080162

BOLT,M8 x 16mm

M8 x 16 mm

2шт.

51

VV12416011360

KNOB

3шт.

52

VV24311000120

O-RING

3шт.

53

VV22351060012

SPRING,6 x 12mm

6 x 12 mm

2шт.

54

VV26366060002

NUT,M6

6шт.

Выбрано товаров: 48