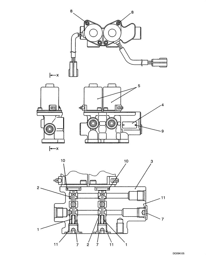
Запчасти Case CX47 (08-56[00]) - VALVE ASSY - SOLENOID (PY35V00005F1) (08) - HYDRAULICS

Схема запчастей Case CX47 - (08-56[00]) - VALVE ASSY - SOLENOID (PY35V00005F1) (08) - HYDRAULICS
11
11
2
10
11
7
4
10
7
3
8
9
5
8
7
1
2
1
FIT
1:1
100%

Артикул

Название

Примечание

Количество

PY35V00005F1

SOLENOID

Incl. 1 - 11

1шт.

1

2436U2802S3

SPRING

1шт.

2

NSS

NOT SOLD SEPARAT

Spool

2шт.

3

NSS

NOT SOLD SEPARAT

Body

1шт.

4

NSS

NOT SOLD SEPARAT

NAME PLATE

1шт.

5

PY35V00005S005

SOLENOID

(Used for Nibbler/Breaker Open/Close)

2шт.

7

LC35V00004S007

PLUG

PLUG

3шт.

8

LC35V00004S008

SCREW

CAPSCREW

4шт.

9

YN30V00080S023

SCREW

RIVET

2шт.

10

ZD11P01600

O-RING

2шт.

11

ZD12P01100

O-RING

3шт.

Выбрано товаров: 11