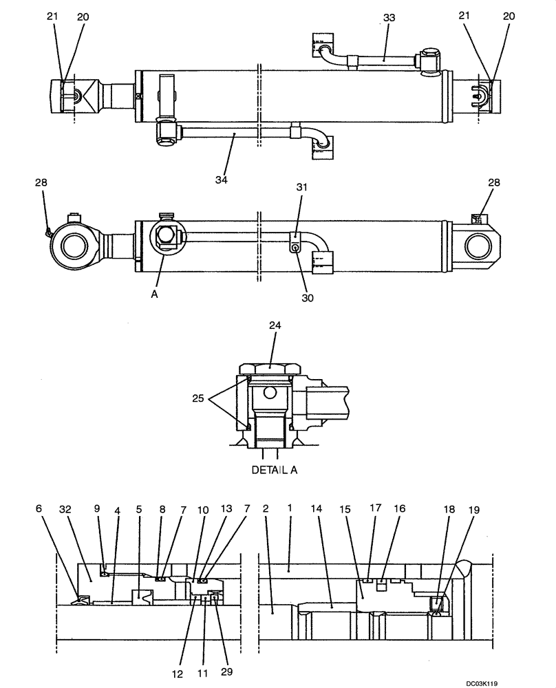
Запчасти Case CX47 (08-61[00]) - CYLINDER ASSY, BOOM (08) - HYDRAULICS

Схема запчастей Case CX47 - (08-61[00]) - CYLINDER ASSY, BOOM (08) - HYDRAULICS
9
34
28
24
20
32
20
10
7
29
31
21
2
19
15
5
16
28
12
4
21
13
25
33
7
18
8
11
6
17
14
1
30
FIT
1:1
100%

Артикул

Название

Примечание

Количество

PY01V00031F3

CYLINDER ASSY.

Boom Incl. 1 - 34

1шт.

1

NSS

NOT SOLD SEPARAT

Tube, Cylinder

1шт.

2

NSS

NOT SOLD SEPARAT

Rod, Piston

1шт.

4

PH01V00018S004

BUSHING

1шт.

5

2438U1116S5

RING

1шт.

6

YJ01V00008S006

WIPER

1шт.

7

ZD12G09500

O-RING,3.1mm Thk x 94.4mm ID, 90 Duro

2шт.

8

PY01V00030S008

BACK-UP RING

1шт.

9

ZD11G10000

O-RING,99.40mm ID x 105.60mm OD x 3.10mm

1шт.

10

PY01V00030S010

HOLDER

1шт.

11

PY01V00030S011

SEAL

1шт.

12

PY01V00030S012

COLLAR

1шт.

13

2438U1115S8

BACK-UP RING

1шт.

14

PY01V00030S014

BEARING

1шт.

15

PY01V00030S015

PISTON

1шт.

16

2438U827S20

SEALING RING

SEALRING

1шт.

17

PY01V00030S017

RING

2шт.

18

2438U986S18

SET SCREW

1шт.

19

2436U281S37

BALL

1шт.

20

PH01V01004D2

BUSHING

2шт.

21

2438U717S21

SEAL

4шт.

24

PH01V00014S024

PLUG

2шт.

25

ZD12P02600

O-RING

4шт.

28

2438U1119S19

LUBE NIPPLE,67 Degree x 1/8" PT

2шт.

29

PY01V00030S029

SPACER

1шт.

30

LF01V00002S034

BOLT

2шт.

31

PY01V00030S031

HOLDER

2шт.

32

PY01V00030S032

CYLINDER HEAD

1шт.

33

PY01V00030S033

PIPE

1шт.

34

PY01V00031S034

TUBE ASSY.

1шт.

PY01V00030R300

REPAIR KIT

Incl. 5 - 9, 13, 16, 17

1шт.

PY01V00030R400

REPAIR KIT

Incl. 1, 20

1шт.

PY01V00030R500

REPAIR KIT

Incl.2, 20

1шт.

Выбрано товаров: 33