Запчасти Case CX47 (08-64[00]) - CYLINDER, DOZER BLADE (08) - HYDRAULICS

Схема запчастей Case CX47 - (08-64[00]) - CYLINDER, DOZER BLADE (08) - HYDRAULICS
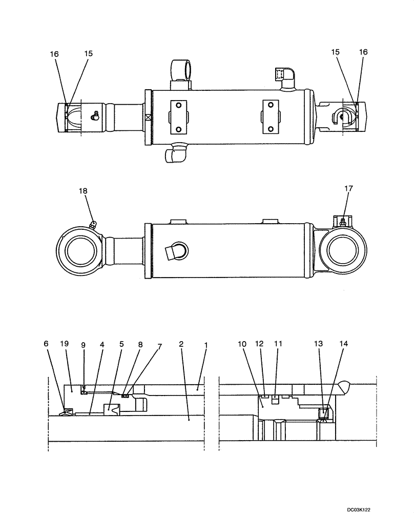
7
8
16
5
15
4
2
16
14
17
9
12
18
19
15
10
6
13
11
1
FIT
1:1
100%

Артикул

Название

Примечание

Количество

PY01V00033F2

CYLINDER ASSY.

Dozer Incl 1 - 19

1шт.

1

NSS

NOT SOLD SEPARAT

Tube, Cylinder

1шт.

2

NSS

NOT SOLD SEPARAT

Rod, Piston

1шт.

4

PH01V00018S004

BUSHING

1шт.

5

2438U1116S5

RING

1шт.

6

YJ01V00008S006

WIPER

1шт.

7

ZD12G09000

O-RING,89.40mm ID x 95.60mm OD x 3.10mm

1шт.

8

PH01V00018S008

BACK-UP RING

1шт.

9

ZD11G09500

O-RING,94.40mm ID x 100.60mm OD x 3.10mm

1шт.

10

PH01V00018S010

PISTON

1шт.

11

2438U1379S15

SEAL RETAINER

1шт.

12

PH01V00018S012

RING

2шт.

13

2438U986S18

SET SCREW

1шт.

14

2436U281S37

BALL

1шт.

15

PY01V00012S016

BUSHING

2шт.

16

2438U716S25

SEAL

4шт.

17

ZG91S02000

LUBE NIPPLE,1/8" NPT x 1/8" NPT

1шт.

18

ZG91U02000

LUBE NIPPLE

1шт.

19

PH01V00018S019

CYLINDER HEAD

1шт.

YJ01V00009R300

REPAIR KIT

Incl. 5 - 9, 11, 12

1шт.

PY01V00033R400

REPAIR KIT

Incl. 1, 15

1шт.

Выбрано товаров: 21