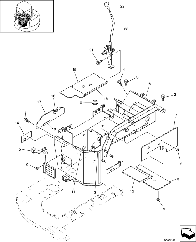
Запчасти Case CX47 (09-25[00]) - STAND CONTROL - CANOPY (09) - CHASSIS/ATTACHMENTS

Схема запчастей Case CX47 - (09-25[00]) - STAND CONTROL - CANOPY (09) - CHASSIS/ATTACHMENTS
22
12
23
19
6
3
10
11
8
9
17
21
3
2
1
13
14
7
9
15
5
4
20
18
16
FIT
1:1
100%

Артикул

Название

Примечание

Количество

1

ZM22C08020

BOLT

2шт.

2

PA03M01165D2

BOLT

4шт.

3

ZM22C12040

BOLT

2шт.

4

PA03M01093D2

BOLT

1шт.

5

PM03M01475P1

PLATE

1шт.

PH03M01397F1

STAND

Incl. 6 - 14

1шт.

6

PH03M01396P1

STAND

1шт.

7

PW03M01252P2

FOAM INSULATION

1шт.

8

PW03M01253P1

FOAM INSULATION

1шт.

9

2418T8864

WASHER

16шт.

10

YN25M01045P1

GROMMET

1шт.

11

PN02C01004D6

SEAL PROTECTION

1шт.

12

PM03M01470P1

FOAM INSULATION

1шт.

13

PN02C01004D1

TRIM PANEL

TRIM

1шт.

14

PM03M01365P1

RUBBER SLEEVE

1шт.

PH03M01400F1

COVER ASSY

Incl. 15, 16

1шт.

15

PH03M01399P1

COVER

Battery

1шт.

16

PE21C01070D4

CAP

1шт.

PH03M01422F1

COVER ASSY

Incl. 17 - 19

1шт.

17

PH03M01421P1

COVER

1шт.

18

PM22C01020D5

TRIM PANEL

1шт.

19

YA21C01019D2

CAP

1шт.

20

PH03M01384P1

COVER

1шт.

21

ZM22C08016

BOLT

2шт.

22

PV03M01043P1

HANDLE GRIP

1шт.

23

YJ03M01046F3

LEVER ASSY.

See Figure 09 -29

1шт.

Выбрано товаров: 0