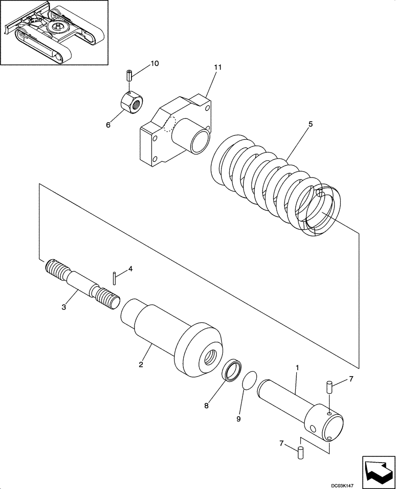
Запчасти Case CX47 (05-07[00]) - TRACK - ADJUSTER (11) - TRACKS/STEERING

Схема запчастей Case CX47 - (05-07[00]) - TRACK - ADJUSTER (11) - TRACKS/STEERING
4
5
2
11
7
10
1
9
6
7
3
8
FIT
1:1
100%

Артикул

Название

Примечание

Количество

PH54D00002F1

ADJUSTER

Incl. 1 - 11

1шт.

1

PH01V01003P1

PISTON

1шт.

PH70V00004P1

CYLINDER ASSY.

Incl. 2 - 4

1шт.

2

PH70V00003P1

CYLINDER ASSY.

1шт.

3

PH70V01002P1

ROD

1шт.

4

ZP26D05050

PIN

1шт.

5

PH54D01008P1

SPRING

1шт.

6

PY54D01004P1

NUT

1шт.

7

2419T6274

PIN

2шт.

8

PH54D01010P1

OIL SEAL

1шт.

9

ZD12G04000

O-RING,39.40mm ID x 45.60mm OD x 3.10mm

1шт.

10

ZP26D05045

PIN

1шт.

11

PH54D01011P1

BRACKET

1шт.

Выбрано товаров: 13