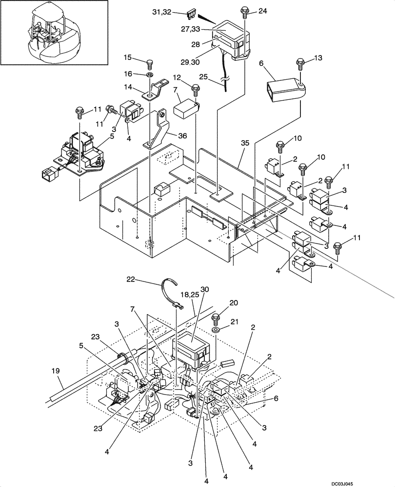
Запчасти Case CX47 (04-06[00]) - RELAY ASSY - CAB (04) - ELECTRICAL SYSTEMS

Схема запчастей Case CX47 - (04-06[00]) - RELAY ASSY - CAB (04) - ELECTRICAL SYSTEMS
11
2
25
4
6
10
2
3
3
4
10
23
4
11
30
3
4
13
3
12
4
4
4
20
31
19
27
23
35
3
15
2
16
11
29
7
22
5
18
7
11
24
36
33
21
32
14
4
3
25
4
2
4
6
5
28
30
FIT
1:1
100%

Артикул

Название

Примечание

Количество

PY24E00011F5

RELAY

RELAY ASSY., Incl. 2 - 36

1шт.

2

PH24S00001P1

RELAY,12V, 70amp

1) Engine Stop, 2) Battery

2шт.

3

PM24S00001P1

RELAY

1) Nibbler Close, 2) Decel, 3) Swivel Select

3шт.

4

PA24E01001P1

RELAY,12V - 20amp

1) Nibbler Open, 2) Swivel Swing Preservation , 3) Swivel Swing Select, 4) Charg Indicator, 5) Opterator Work Light

5шт.

5

PH24S00002P1

RELAY

Saftey

1шт.

6

PA24S00002P3

RELAY,DC12V

1шт.

7

PH25S00002P1

TIMER

1шт.

10

ZM61C05012

BOLT

2шт.

11

ZM61C06012

BOLT

5шт.

12

ZM61C06016

BOLT

1шт.

13

ZM61C06020

BOLT

1шт.

14

PM16E01005P1

CLIP

1шт.

15

ZS18C08016

SCREW,Hex, M8 x 16mm

1шт.

16

ZW16X08000

WASHER,8mm ID x 17mm OD x 1.6mm Thk

1шт.

18

PH11E00007F6

HARNESS

Incl. 19 - 34

1шт.

19

PH14E01006P1

HARNESS

1шт.

20

ZM61C06012

BOLT

1шт.

21

ZW16X06000

WASHER

1шт.

22

YN03E01001D5

CLIP

2шт.

23

2432Z290

CLIP

1шт.

24

ZM61C06016

BOLT

2шт.

25

PY14E01007P1

HARNESS

1шт.

25-1

PH73S00001P1

FUSE,45 Amp

45A Fusible link ( Not Shown)

1шт.

27

PM73E00004F6

FUSE

1шт.

28

2479U1458S2

COVER

1шт.

29

2479U1458S1

BASE

1шт.

30

2479U1458S3

BLOCK

2шт.

31

2479R655S8

FUSE,10 Amp

10A

3шт.

32

YN73E01001P1

LABEL

FUSE 30A

6шт.

33

PW73E01001P1

LABEL

1шт.

34

PH50S00007S001

IGNITION SWITCH

KEY ( Not Shown); Used With Ignition Switch PY50S00004P1 on Figure 09-38

1шт.

35

PH24E010292

BOX

1шт.

36

PY24E01004P1

BRACKET

1шт.

Выбрано товаров: 33