Качественные детали и логистика
Оригинальные и аналоговые запчасти с доставкой по России, Казахстану и Беларуси
©2022 PartSell ООО "Система" ИНН 2463123282 ОГРН 1212400004838
Центральный офис: г. Красноярск, Академика Киренского, д.87, пом.4
Телефон: 8 (800) 777-65-74 Email: zakaz@partsell.ru
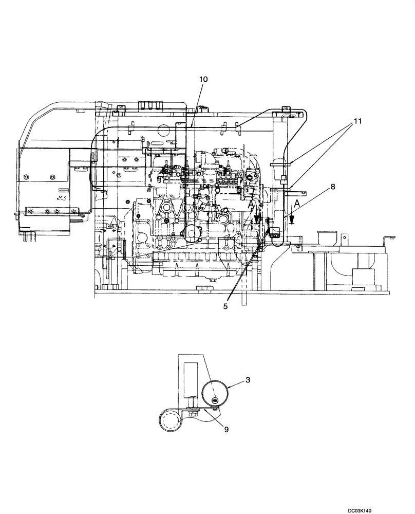
(04-15[00]) - ALARM ASSY
№
Артикул
Название
Примечание
Количество
3
PM53S00001F2
ALARM
Travel
1шт.
5
ZS32T40008
SELF-TAP SCREW
2шт.
8
PH13E01056P1
HARNESS
Travel Alarm
9
PH53E01005P1
PLATE
10
PH13E01057P1
11
PY01P01043D5
CABLE TIE,301mm L
Выбрано товаров: 0