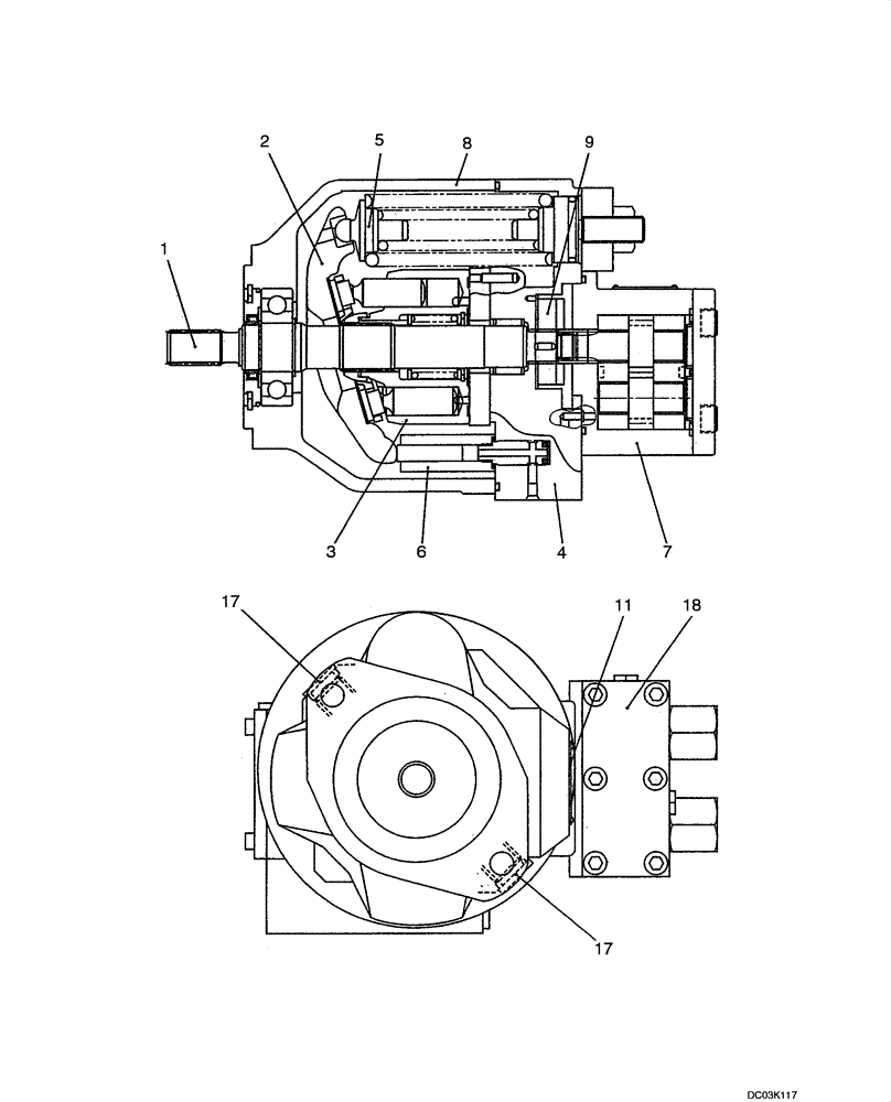
Запчасти Case CX47 (08-18[00]) - PUMP ASSY (PY10V00010F1) CAB (08) - HYDRAULICS

Схема запчастей Case CX47 - (08-18[00]) - PUMP ASSY (PY10V00010F1) CAB (08) - HYDRAULICS
6
1
7
4
18
17
2
8
5
11
9
17
3
FIT
1:1
100%

Артикул

Название

Примечание

Количество

PY10V00010F1

PUMP

Assy. (Cab) Incl. 1 - 18

1шт.

1

PH10V01001F1

SHAFT ASSY.

See Figure 08 -19

1шт.

2

PY10V01002F1

BLOCK ASSY.

See Figure 08 -20

1шт.

3

PY10V01005F1

ROTOR ASSY.

See Figure 08 -21

1шт.

4

PY10V01007F1

COVER ASSY

See Figure 08 -22

1шт.

5

PH10V01003F1

SPRING

See Figure 08 -23

1шт.

6

PY10V01008F1

PISTON ASSY

See Figure 08 -24

1шт.

7

PH10V00006F1

PUMP

See Figure 08 -25

1шт.

8

NSS

NOT SOLD SEPARAT

Body Assy.

1шт.

9

PH10V00007F1

PUMP

See Figure 08 -26

1шт.

11

PY10V00009S011

IDENTITY PLATE

1шт.

17

PY10V00010S017

PLUG

2шт.

18

PY10V0001009F1

SILENCER ASSY., See Figure 08 -27

1шт.

Выбрано товаров: 0