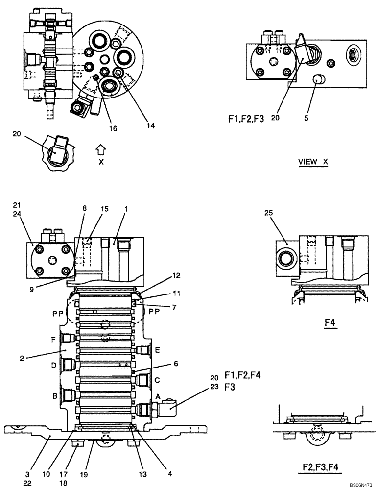
Запчасти Case CX17B (08-033[00]) - JOINT ASSY, SWIVEL (PA55V00001F1 - F4) (35) - HYDRAULIC SYSTEMS

Схема запчастей Case CX17B - (08-033[00]) - JOINT ASSY, SWIVEL (PA55V00001F1 - F4) (35) - HYDRAULIC SYSTEMS
12
2
13
20
20
17
5
1
18
20
16
10
6
8
23
3
21
7
4
19
9
11
15
22
14
25
24
FIT
1:1
100%

Артикул

Название

Примечание

Количество

PA55V00001F1

JOINT ASSY.

JOINT ASSY, SWIVEL (PA55V00001F1 - F4)

1шт.

1

PA55V00001S001

SHAFT

1шт.

2

PA55V00001S002

Body

1шт.

3

PA55V00001S003

FLANGE

Flange (F1 Only)

1шт.

4

PV55V00001S004

RING

Thrust

1шт.

5

PV55V00001S005

PIN

1шт.

6

PV55V00001S006

SEAL

Slipper

8шт.

7

ZD12P06000

O-RING

O-Ring

1шт.

8

ZD12P00900

O-RING

2шт.

9

ZD12P00500

O-RING

1шт.

10

PA55V00001S010

O-RING

1шт.

11

PA55V00001S011

RING, SNAP

RING SNAP Backup Ring

1шт.

12

PA55V00001S012

GASKET

Seal, Dust

1шт.

13

ZR16X05500

RING

Retaining

1шт.

14

PA55V00001S014

PLUG

2шт.

15

PA55V00001S015

PLUG

4шт.

16

PA55V00001S016

PLUG

1шт.

17

24100J1811-4

SCREW

Screw

4шт.

18

PA55V00001S018

LOCK WASHER

4шт.

19

PA55V00001S019

PLATE

Name

1шт.

20

PA55V00001S020

ADAPTER

(F1, F2 Only)

2шт.

PA55V00001S020

ADAPTER

(F3, F4 Only)

1шт.

21

PA55V01001F1

ASSEMBLY

VALVE ASSY, SELECTOR (F1, F2 Only)

1шт.

22

PA55V00001S022

FLANGE

(F2 - F4 Only)

1шт.

23

PA55V00001S023

ADAPTER

(F3 Only)

1шт.

24

PA55V01001F2

CONTROL VALVE

VALVE ASSY, SELECTOR (F3 Only)

1шт.

25

PA19H01005F1

BLOCK

Block Assy (F4 Only)

1шт.

Выбрано товаров: 27