Запчасти Case CX17B (07-003[00]) - DECALS / NAME PLATES (PU22T00048F3 - F4) (90) - PLATFORM, CAB, BODYWORK AND DECALS

Схема запчастей Case CX17B - (07-003[00]) - DECALS / NAME PLATES (PU22T00048F3 - F4) (90) - PLATFORM, CAB, BODYWORK AND DECALS
27
6
26
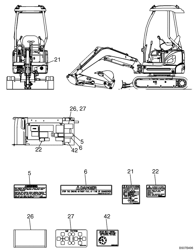
5
6
42
5
22
27
21
42
22
26
21
FIT
1:1
100%

Артикул

Название

Примечание

Количество

PU22T00048F3

DECALS / NAME PLATES (PU22T00048F3 - F4)

1шт.

5

YN20T01039P1

WARNING DECAL

Warning, machine equipped with rotary multi control (F4 Only)

1шт.

6

YN20T01214P1

LABEL

Danger, stop machine at the time of changeover (F4 Only)

1шт.

21

PU20T01023P1

DECAL

DECAL; Caution, procedure to change selector valve (F3 Only)

1шт.

22

PY20T01062P1

CAUTION DECAL

Caution, Attachment operation by foot pedal (F3 Only)

1шт.

26

YN20T01475P1

LABEL

Holder (F4 Only)

1шт.

27

YN20T01476P1

LABEL

Plate, Instruction SAE pattern (F4 Only)

1шт.

42

PW20T01133P1

LABEL

Rotary multi control (F4 Only)

1шт.

Выбрано товаров: 8