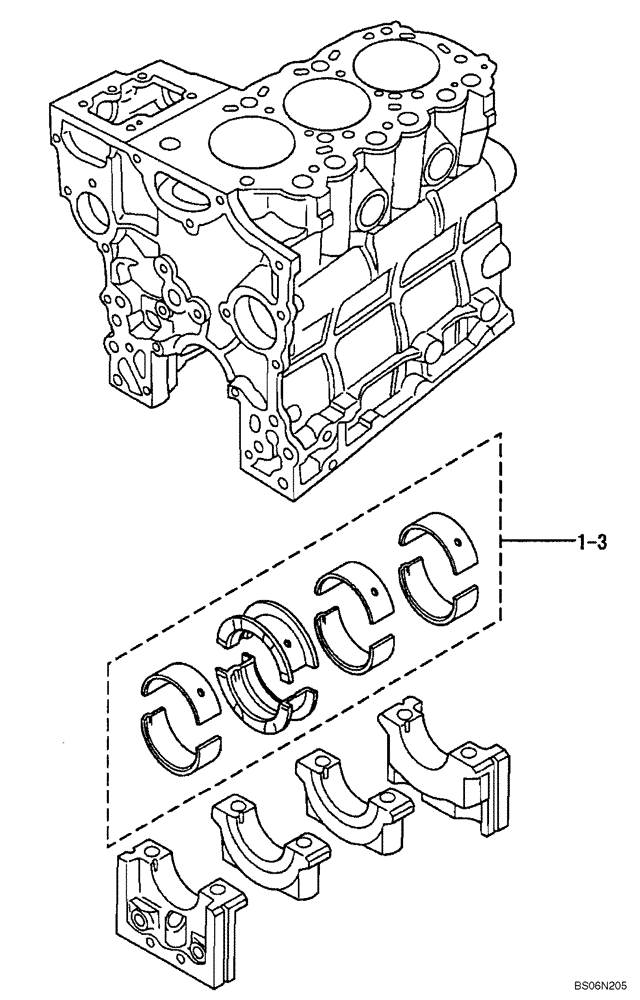
Запчасти Case CX17B (09-006[00]) - CRANKSHAFT BEARING (10) - ENGINE

Схема запчастей Case CX17B - (09-006[00]) - CRANKSHAFT BEARING (10) - ENGINE
3
1
FIT
1:1
100%

Артикул

Название

Примечание

Количество

CRANKSHAFT BEARING

1шт.

1

VAMM438799

BEARING

Bearing Set, Std

1шт.

2

VAMM438800

BEARING SET

Bearing Set, U.S. 0.25

1шт.

3

VAMM438801

BEARING SET

Bearing Set, U.S. 0.50

1шт.

Выбрано товаров: 4