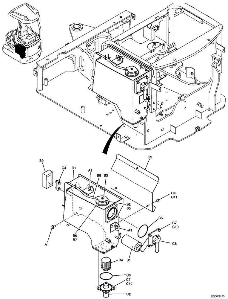
Запчасти Case CX17B (01-012[00]) - TANK INSTAL, HYDRAULIC (PU33H00016F1, 19F1) (35) - HYDRAULIC SYSTEMS

Схема запчастей Case CX17B - (01-012[00]) - TANK INSTAL, HYDRAULIC (PU33H00016F1, 19F1) (35) - HYDRAULIC SYSTEMS
b7
d1
c8
c3
c7
c10
b9
b3
c2
b1
c11
c10
c7
a1
b8
a1
c6
b2
c9
b4
a1
b5
b6
c5
c4
FIT
1:1
100%

Артикул

Название

Примечание

Количество

PU33H00016F1

TANK

TANK INSTAL, HYDRAULIC

1шт.

PU33H00019F1

Tank Instal, Hydraulic

1шт.

a1

ZM73C10025

BOLT,M10x25mm - Course Thread

M10x1.50x25mm (Incls. Washer)

3шт.

PU33H00018F1

Tank Assy, Hydraulic

1шт.

b1

PU50V00001P1

FILTER

Filter, Return

1шт.

b2

PU33H01065P1

NECK FILLER

Neck, Filler

1шт.

b3

PU33H01068P1

CAP

Cap

1шт.

b4

PU50V00002P1

FILTER STRAINER

Strainer, Suction

1шт.

b5

2446U260S8

PACKING

1шт.

b6

ZS28C06016

SCREW,Hex Socket Head, M6 x 16mm

4шт.

b7

ZW26K06000

LOCK WASHER

Lock Washer

4шт.

b8

PA21P01005D3

HOSE

Hose

1шт.

b9

PU33H01061P1

FOAM INSULATION

Insulation

1шт.

PU33H00017F1

Tank Assy

1шт.

c2

PU33H01077P1

COVER

Cover

1шт.

c3

PU33H01058P1

COVER

Cover

1шт.

c4

PE58S00001P1

GAUGE

Oil Level Gauge

1шт.

c5

ZD11G09000

O-RING,89.40mm ID x 95.60mm OD x 3.10mm

1шт.

c6

ZD11G08000

O-RING,79.40mm ID x 85.60mm OD x 3.10mm

1шт.

c7

ZS18C08016

SCREW,Hex, M8 x 16mm

8шт.

c8

PU33H01044P1

COVER

1шт.

c9

ZS18C08012

SCREW,Hex, M8 x 12mm

3шт.

c10

ZW26X08000

LOCK WASHER

8шт.

c11

ZW16P08000

WASHER

ID 08 x OD 17 x Th 1.6mm

3шт.

d1

PU33H00020P1

TANK

Tank

1шт.

Выбрано товаров: 0