Запчасти Case CX17B (02-009[01]) - HYDRAULICS - LOWER (PU12H00012F1, PU13H00013F1) (35) - HYDRAULIC SYSTEMS

Схема запчастей Case CX17B - (02-009[01]) - HYDRAULICS - LOWER (PU12H00012F1, PU13H00013F1) (35) - HYDRAULIC SYSTEMS
a4
a9
a1
a14
c4
a3
a14
a12
a12
a11
a6
c2
a8
a11
c1
a10
a2
d1
a1
c4
a5
c3
a4
d1
c1
a7
FIT
1:1
100%

Артикул

Название

Примечание

Количество

PU02H00015F1

HYDRAULIC LINES, LOWER (PU02H00015F1)

1шт.

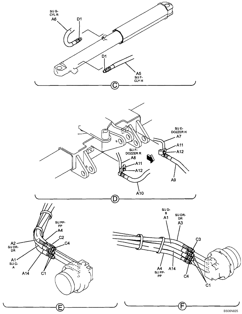
a1

PM02H01012DD

HOSE

Hose

2шт.

a2

PU02H01026D2

HOSE

Hose

1шт.

a3

PU02H01026D4

HOSE

Hose

1шт.

a4

PU02H01031D1

HOSE

Hose

2шт.

a5

PA02H01003DE

HOSE

Hose

1шт.

a6

PA02H01003D5

HOSE ASSY.

1шт.

a7

PU02H01032P1

TUBE

Tube

1шт.

a8

PU02H01033P1

TUBE

Tube

1шт.

a9

PA02H01003D6

HOSE

Hose

1шт.

a10

PA02H01003DH

HOSE

Hose

1шт.

a11

ZC26X12009

CLAMP

2шт.

a12

ZM73C08030

BOLT,M8x30mm - Course Thread

Bolt

2шт.

a14

PM02H01012DF

HOSE

Hose

2шт.

PU12H00012F1

HYDRAULIC LINES, PROPEL (PU12H00012F1)

1шт.

c1

HH25S06006G1

HYD CONNECTOR

4шт.

c2

PU12H01012P1

WIRE CONNECTOR

Connector

1шт.

c3

HH25S04004G1

HYD CONNECTOR

1шт.

c4

HH25S04002G2

HYD CONNECTOR

2шт.

PU13H00013F1

HYDRAULIC LINES, CYLINDER (PU13H00013F1)

1шт.

d1

HH25S04004G1

HYD CONNECTOR

2шт.

Выбрано товаров: 21