Запчасти Case CX17B (08-009[00]) - VALVE SECTION, CONTROL VALVE - TRAVEL RIGHT (PU30V00025F1) (35) - HYDRAULIC SYSTEMS

Схема запчастей Case CX17B - (08-009[00]) - VALVE SECTION, CONTROL VALVE - TRAVEL RIGHT (PU30V00025F1) (35) - HYDRAULIC SYSTEMS
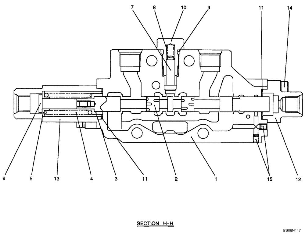
4
7
11
9
5
11
15
1
13
2
8
3
12
14
10
6
FIT
1:1
100%

Артикул

Название

Примечание

Количество

PU30V00025F1

CONTROL VALVE

VALVE ASSY, CONTROL; TRAVEL RIGHT (PU30V00025F1)

1шт.

1

NSS

NOT SOLD SEPARAT

BODY

1шт.

2

NSS

NOT SOLD SEPARAT

SPOOL

1шт.

3

NSS

NOT SOLD SEPARAT

SPRING, SEAT

1шт.

4

NSS

NOT SOLD SEPARAT

SPRING

1шт.

5

NSS

NOT SOLD SEPARAT

SPRING, SEAT

1шт.

6

NSS

NOT SOLD SEPARAT

END, SPOOL

1шт.

7

PW30V01009S002

POPPET

1шт.

8

PH30V00014S013

SPRING

1шт.

9

ZD12P01100

O-RING

1шт.

10

PW30V01009S005

PLUG

1шт.

11

PW30V01008S011

O-RING

2шт.

12

PM30V00021S012

COVER

1шт.

13

PM30V00021S013

COVER

1шт.

14

PM30V00021S014

SCREW

SCREW

4шт.

15

2436U1317S22

PLUG

2шт.

k

PU30V00025R100

KIT

REPAIR KIT; Consists of Items 2x1, 3x1, 4x1, 5x1, 6x1

1шт.

Выбрано товаров: 17