Запчасти Case CX17B (08-021[00]) - PUMP ASSY (PU10V00014F1) (35) - HYDRAULIC SYSTEMS

Схема запчастей Case CX17B - (08-021[00]) - PUMP ASSY (PU10V00014F1) (35) - HYDRAULIC SYSTEMS
61
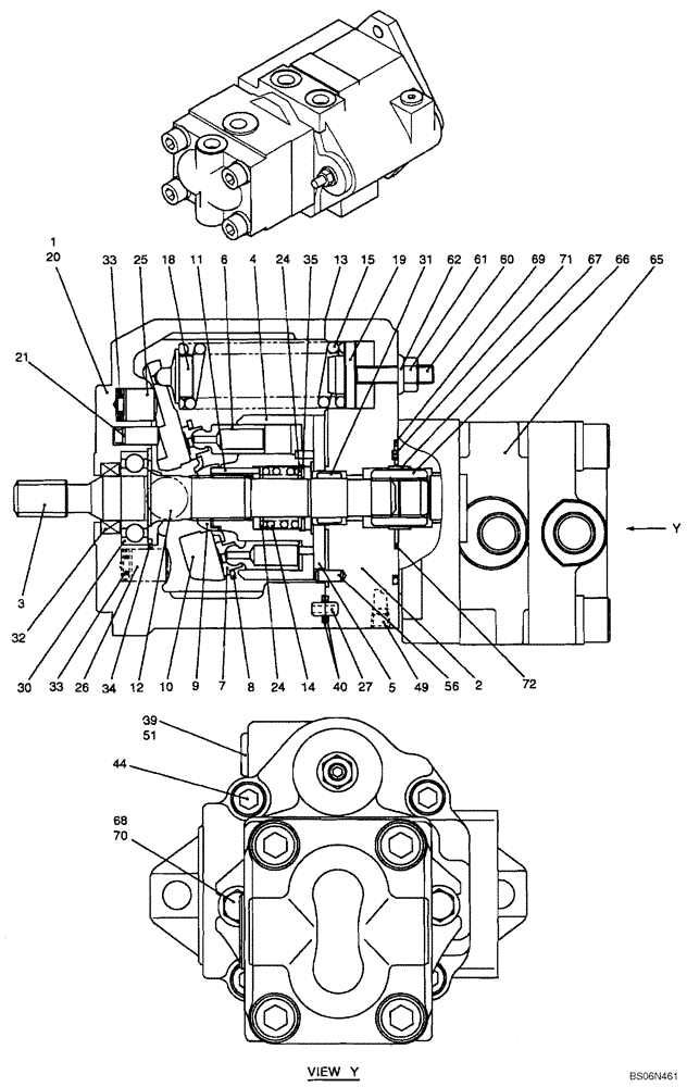
4
33
71
49
6
24
32
19
60
14
44
8
31
65
68
15
7
34
25
18
70
27
56
30
40
66
2
72
33
51
1
9
24
69
12
10
3
39
35
26
62
20
67
5
13
11
21
FIT
1:1
100%

Артикул

Название

Примечание

Количество

PU10V00014F1

PUMP,7.4 CC

PUMP ASSY (PU10V00014F1)

1шт.

1

NSS

NOT SOLD SEPARAT

BODY

1шт.

2

NSS

NOT SOLD SEPARAT

BODY

1шт.

3

PU10V00014S0003

Shaft

1шт.

4

NSS

NOT SOLD SEPARAT

BARREL, CYLINDER

1шт.

5

NSS

NOT SOLD SEPARAT

PLATE, VALVE

1шт.

6

NSS

NOT SOLD SEPARAT

PISTON

10шт.

7

NSS

NOT SOLD SEPARAT

SHOE

10шт.

8

NSS

NOT SOLD SEPARAT

HOLDER, SHOE

1шт.

9

NSS

NOT SOLD SEPARAT

HOLDER, BARREL

1шт.

10

PA10V00001S010

PLATE

1шт.

11

NSS

NOT SOLD SEPARAT

NEEDLE

3шт.

12

NSS

NOT SOLD SEPARAT

PIN

2шт.

13

PA10V00001S013

PACKING

1шт.

14

NSS

NOT SOLD SEPARAT

SPRING

1шт.

15

PU10V00014S015

SPRING

SPRING

1шт.

18

PA10V00001S018

HOLDER

SPRING

1шт.

19

PA10V00001S019

SPRING

GUIDE

1шт.

20

PA10V00001S020

PIN

1шт.

21

PM10V00011S021

ROD

Rod

1шт.

24

NSS

NOT SOLD SEPARAT

RETAINER

2шт.

25

PU10V00014S025

STOP

Pin, Stopper

1шт.

26

PU10V00014S026

STOP

Pin, Stopper

1шт.

27

PW10V00011S027

PIN

Pin

1шт.

30

R25P0009D8

BALL BEARING,20mm ID x 42mm OD x 12mm W

1шт.

31

NSS

NOT SOLD SEPARAT

BEARING, NEEDLE

1шт.

32

PA10V00001S032

GASKET

Oil Seal

1шт.

33

PA10V00001S033

WASHER

8шт.

34

NSS

NOT SOLD SEPARAT

RING, SNAP

1шт.

35

NSS

NOT SOLD SEPARAT

RING, SNAP

1шт.

39

ZD12P01100

O-RING

1шт.

40

NSS

NOT SOLD SEPARAT

O-RING

2шт.

44

EC35V00001S008

SCREW

Capscrew

4шт.

49

NSS

NOT SOLD SEPARAT

PLUG

4шт.

51

PA10V00001S051

PLUG

1шт.

56

NSS

NOT SOLD SEPARAT

PIN, SPRING

1шт.

60

YR10V00004S061

SCREW

Screw

1шт.

61

YR10V00004S062

NUT

1шт.

62

PR10V00002S062

WASHER

Seal

1шт.

65

PU10V00015F1

PUMP

Pump Assy, Gear

1шт.

66

PR10V00002S066

COUPLING

Coupling

1шт.

67

PU10V00014S067

COLLAR

Collar

1шт.

68

NSS

NOT SOLD SEPARAT

BOLT

2шт.

69

ZD12P00700

O-RING,1.6mm Thk x 6.8mm ID, 90 Duro

O-Ring

1шт.

70

PU10V00014S070

LOCK WASHER

Washer, Lock

2шт.

71

ZD12G05500

O-RING,3.1mm Thk x 54.4mm ID, 90 Duro

O-Ring

1шт.

72

ZD12P00800

O-RING,1.9mm Thk x 7.8mm ID, 90 Duro

1шт.

k

PU10V00014R100

REPAIR KIT

REPAIR KIT; Includes 4x1, 5x1, 6x10, 7x10, 8x1, 9x1, 11x3, 14x1, 24x2, 35x1

1шт.

k

PU10V00014R200

REPAIR KIT

REPAIR KIT; Includes 13x1, 32x1, 39x1, 40x2, 62x1, 69x1, 71x1, 72x1

1шт.

Выбрано товаров: 49