Запчасти Case CX17B (02-003[02]) - JOINT INSTAL, SWIVEL (35) - HYDRAULIC SYSTEMS

Схема запчастей Case CX17B - (02-003[02]) - JOINT INSTAL, SWIVEL (35) - HYDRAULIC SYSTEMS
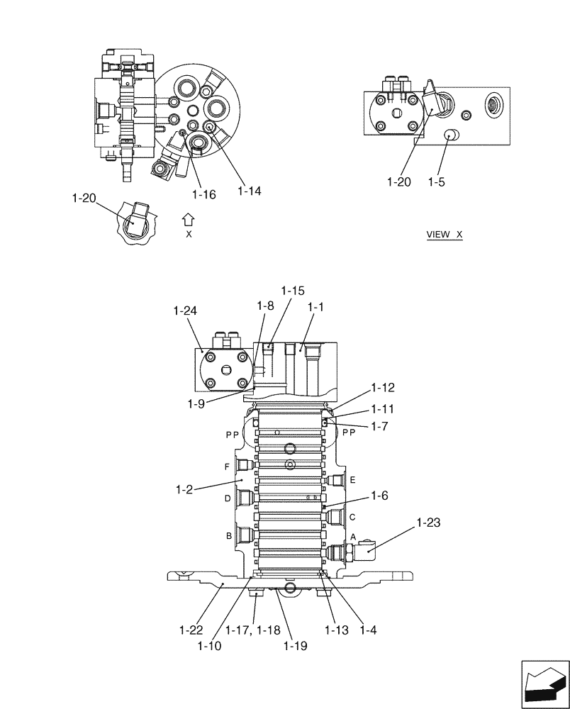
1-1
1-15
1-2
1-16
1-6
1-20
1-8
1-23
1-17
1-24
1-4
1-9
1-22
1-19
1-18
1-20
1-14
1-5
1-10
1-13
1-12
1-11
1-7
FIT
1:1
100%

Артикул

Название

Примечание

Количество

PU19H00016F1

Joint Instal, Swivel

1шт.

1

PA55V00001F3

HYDRAULIC SWIVEL

Joint

1шт.

1-1

PA55V00001S001

SHAFT

1шт.

1-2

PA55V00001S002

Body

1шт.

1-4

PV55V00001S004

RING

1шт.

1-5

PV55V00001S005

PIN

1шт.

1-6

PV55V00001S006

SEAL

Slipper

8шт.

1-7

ZD12P06000

O-RING

O-Ring

1шт.

1-8

ZD12P00900

O-RING

2шт.

1-9

ZD12P00500

O-RING

1шт.

1-10

PA55V00001S010

O-RING

1шт.

1-11

PA55V00001S011

RING, SNAP

RING SNAP Back Up

1шт.

1-12

PA55V00001S012

GASKET

Seal, Dust

1шт.

1-13

ZR16X05500

RING

Snap

1шт.

1-14

PA55V00001S014

PLUG

2шт.

1-15

PA55V00001S015

PLUG

4шт.

1-16

PA55V00001S016

PLUG

1шт.

1-17

24100J1811-4

SCREW

4шт.

1-18

PA55V00001S018

LOCK WASHER

4шт.

1-19

PA55V00001S019

PLATE

Name

1шт.

1-20

PA55V00001S020

ADAPTER

Elbow

1шт.

1-22

PA55V00001S022

FLANGE

1шт.

1-23

PA55V00001S023

ADAPTER

Elbow

1шт.

1-24

PA55V01001F2

CONTROL VALVE

1шт.

Refer To 02-003(03)

1шт.

Выбрано товаров: 25