Запчасти Case CX17B (02-004[02]) - CYLINDER INSTAL - CRAWLER FRAME WIDTH (35) - HYDRAULIC SYSTEMS

Схема запчастей Case CX17B - (02-004[02]) - CYLINDER INSTAL - CRAWLER FRAME WIDTH (35) - HYDRAULIC SYSTEMS
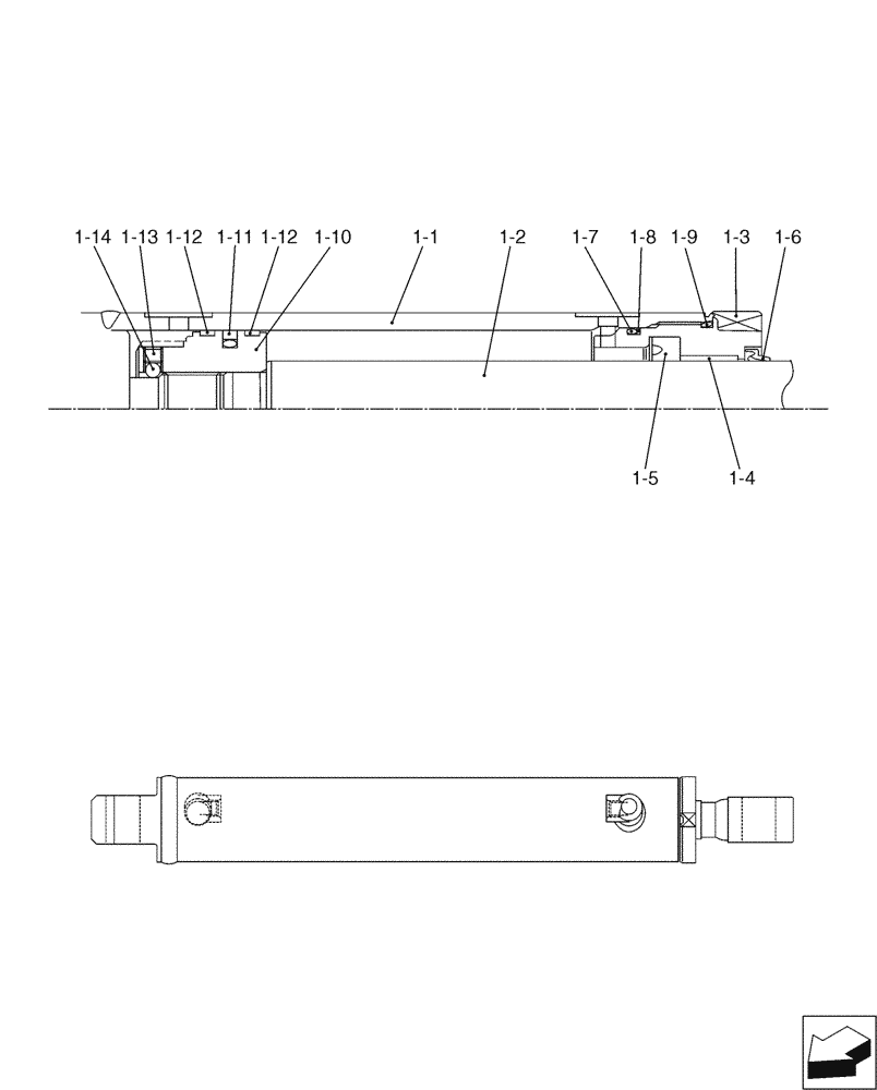
1-1
1-13
1-5
1-12
1-6
1-4
1-10
1-8
1-7
1-9
1-14
1-3
1-11
1-2
1-12
FIT
1:1
100%

Артикул

Название

Примечание

Количество

PU01V00034F1

Cylinder Instal (Crawler)

1шт.

1

PU01V00030F1

HYDRAULIC CYLINDER,Double Acting, 30mm Rod, 330mm Stroke

1шт.

1-1

PU01V00030S001

TUBE,55 mm ID x 70 mm OD x 444 mm L

1шт.

1-2

PU01V00030S002

PISTON ROD

1шт.

1-3

PU01V00030S003

CYLINDER HEAD

1шт.

1-4

PU01V00030S004

BUSHING

1шт.

1-5

PU01V00030S005

O-RING

1шт.

1-6

PU01V00013S007

WIPER

Ring

1шт.

1-7

ZD12G05000

O-RING,49.40mm ID x 55.60mm OD x 3.10mm

1шт.

1-8

PM01V00050S010

BACK-UP RING

1шт.

1-9

ZD12G05500

O-RING,3.1mm Thk x 54.4mm ID, 90 Duro

1шт.

1-10

PU01V00030S010

PISTON

1шт.

1-11

PM01V00009S012

RING

Seal

1шт.

1-12

PU01V00030S012

RING

2шт.

1-13

2438U988S18

SET SCREW

1шт.

1-14

2438U988S19

BALL

1шт.

PU01V00030R100

REPAIR KIT

Includes Ref. 1-5(1), 1-6(1), 1-7(1), 1-8(1), 1-9(1), 1-11(1), 1-12(2)

1шт.

Выбрано товаров: 17