Запчасти Case CX17B (05-001) - CONTROL LINES, PROPEL (35) - HYDRAULIC SYSTEMS

Схема запчастей Case CX17B - (05-001) - CONTROL LINES, PROPEL (35) - HYDRAULIC SYSTEMS
3
2
7
5
7
8
6
7
10
1
11
7
3
4
5
9
6
4
1
FIT
1:1
100%

Артикул

Название

Примечание

Количество

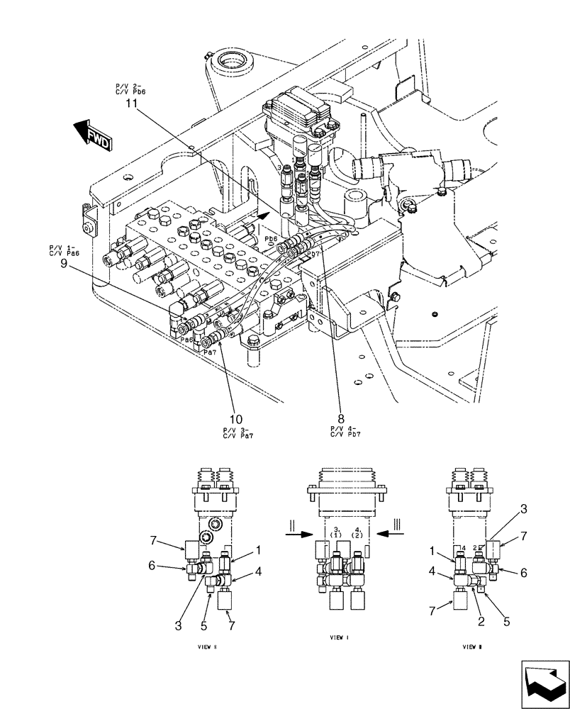
PU62H00012F1

Control Lines, Propel

1шт.

1

2444Z2525

HYD CONNECTOR

2шт.

2

YX42H01085P1

CONNECTION

1шт.

3

2444Z2894

90 ELBOW

Elbow

2шт.

4

2444Z4231

ELBOW

2шт.

5

HH35S04004G1

90 ELBOW

2шт.

6

PV62H01001P1

ELBOW

2шт.

7

GB50S00049F2

SWITCH

Pressure

4шт.

8

PU62H01003D8

HOSE

1шт.

9

PU62H01003D6

HOSE

1шт.

10

PU62H01003D1

HOSE

1шт.

11

PU62H01003D9

HOSE

1шт.

Выбрано товаров: 12