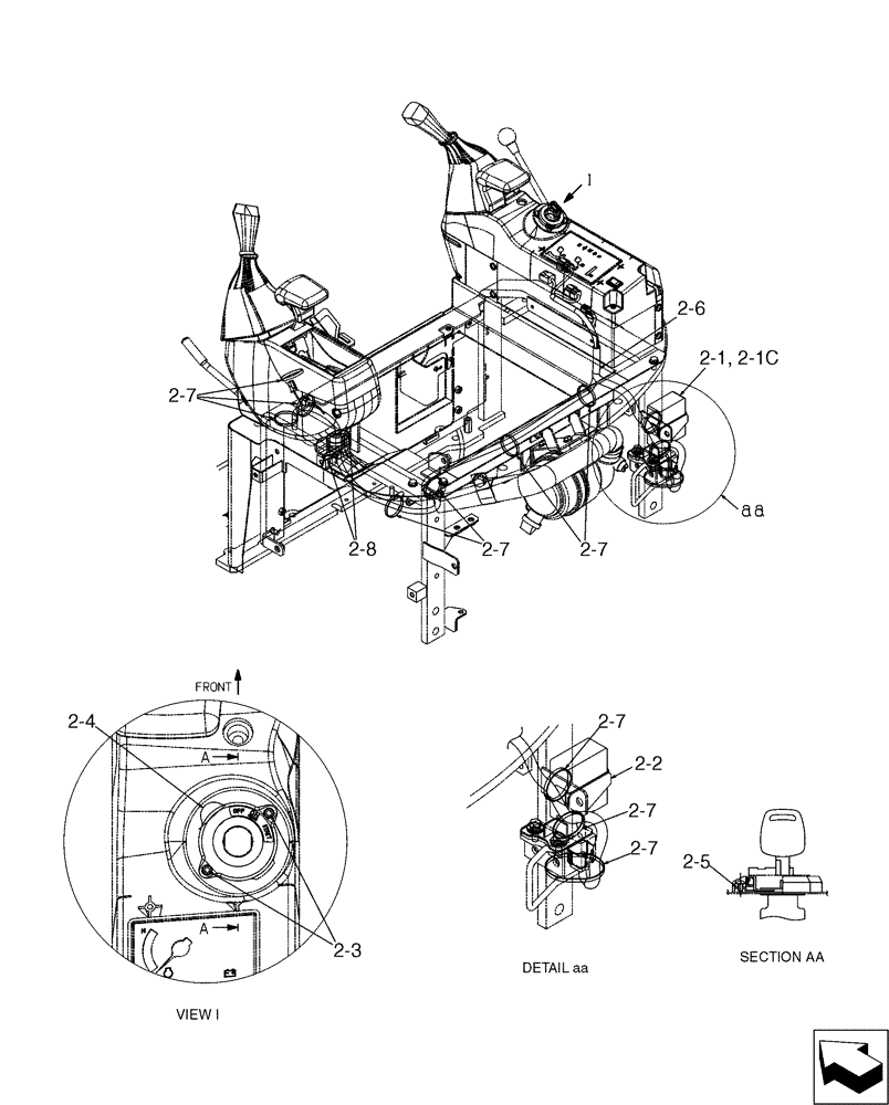
Запчасти Case CX17B (05-003[02]) - ELEC ASSY - FOR ANTITHEFT (55) - ELECTRICAL SYSTEMS

Схема запчастей Case CX17B - (05-003[02]) - ELEC ASSY - FOR ANTITHEFT (55) - ELECTRICAL SYSTEMS
2-7
2-7
2-8
2-1c
2-7
2-5
2-4
2-6
2-7
2-3
2-1
2-7
2-2
2-7
FIT
1:1
100%

Артикул

Название

Примечание

Количество

PU01E00001F1

ELECTRIC PANEL

(For Antitheft)

1шт.

2

PU01E00002F1

ELECTRIC PANEL

1шт.

2-1

PM54S00002F2

AMPLIFIER

1шт.

2-1c

YN01E01005P1

IGNITION KEY

1шт.

2-2

PU01E01010P1

BRACKET

1шт.

2-3

ZS31C03005

SCREW

Machine Screw

2шт.

2-4

YN54S00009P1

ANTENNA

1шт.

2-5

YN54S01001P1

STAY

1шт.

2-6

PU13E01058P1

HARNESS

1шт.

2-7

PY01P01043D3

CABLE TIE,188mm L

10шт.

Выбрано товаров: 10