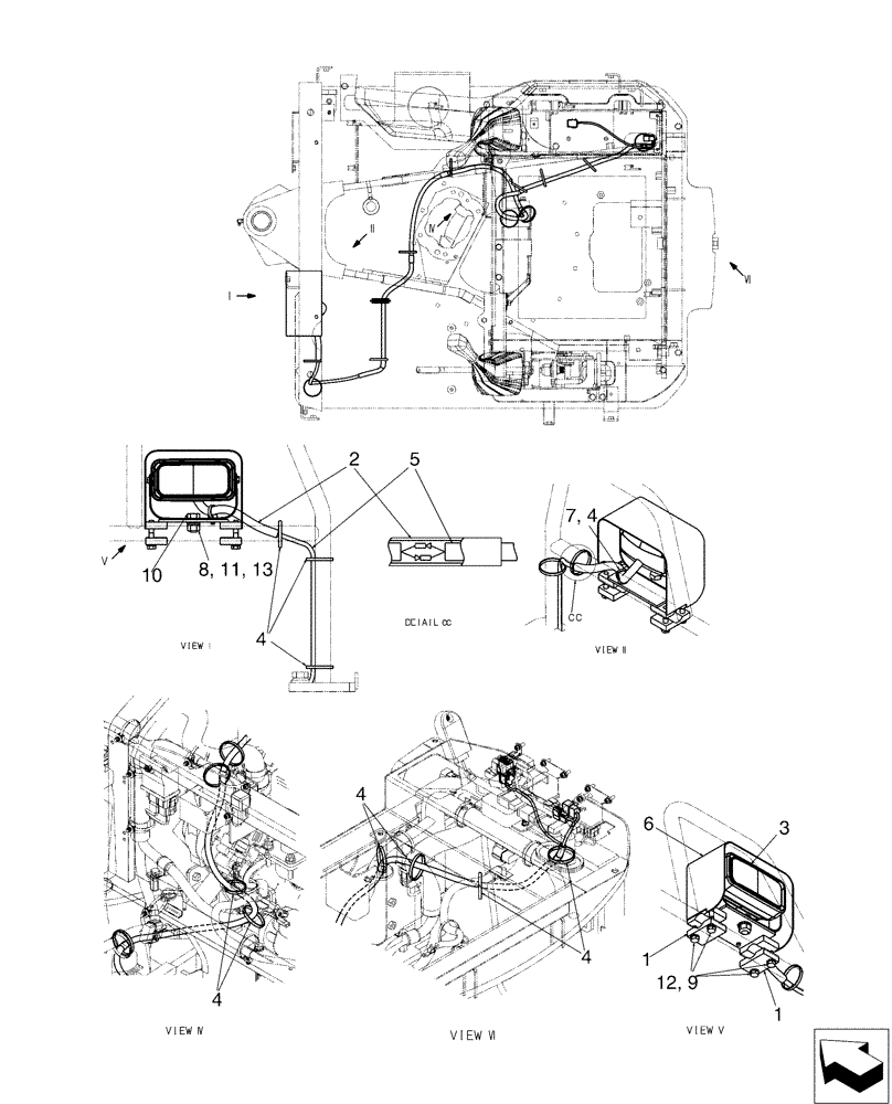
Запчасти Case CX17B (05-004[01]) - LIGHT ASSY - HAND RAIL (55) - ELECTRICAL SYSTEMS

Схема запчастей Case CX17B - (05-004[01]) - LIGHT ASSY - HAND RAIL (55) - ELECTRICAL SYSTEMS
4
6
3
12
4
8
4
7
1
9
4
11
4
10
13
2
1
5
FIT
1:1
100%

Артикул

Название

Примечание

Количество

PU80E00007F1

Light Assy. (Hand Rail)

1шт.

1

2432T4113D2

CLAMP

2шт.

2

PA68H01040D7

TUBE

1шт.

3

PW80S00004F1

LIGHT

1шт.

Refer To 05-004(02)

1шт.

4

PY01P01043D3

CABLE TIE,188mm L

14шт.

5

PU11E01004P1

HARNESS

1шт.

6

PU80E01008P1

COVER ASSY

1шт.

7

YN13E01375P1

CLIP,M8 x 8.20mm Shank

1шт.

8

ZN18C12010

NUT

1шт.

9

ZS18C08045

SCREW,Hex, M8 x 45mm

Cap

4шт.

10

ZS18C12025

SCREW,Hex, M12 x 25mm

Cap

1шт.

11

ZW16P12000

WASHER

1шт.

12

ZW26X08000

LOCK WASHER

Lock

4шт.

13

ZW26X12000

LOCK WASHER

1шт.

Выбрано товаров: 15